|
Factors and industry trends driving the need for intelligent I/O subsystems include:
- Proliferation of client/server architecture has led to increasing quantities of data and concern overserver systems
- Heavy demands and reliance on Web servers necessitates more scalable systems
- Data sizes and types increasingly contain natural data elements such as video, audio, text and graphics
Product Overview
With the rapid pace of microprocessor performance improvements, better I/O performance has become a key aspect of delivering balanced server performance. Intel's family of I/O processors, the 80960RP and RD, build on the established performance of Intel's 80960 RISC architecture and also encompass industry initiatives, including PCI and I2O*, to effectively offload host CPUs of I/O processing chores. These highly integrated processors offer a cost-effective approach to implementing PCI-based intelligent I/O subsystems.
The 33 MHz i960® RP and 66 MHz i960 RD I/O processors are single-chip solutions which support the I2O specification for standardized Intelligent I/O. The combination of an Intel I/O processor and the I2O architecture provide the framework to allow for significantly enhanced I/O and system level performance. In addition, the I2O specification defines a split driver model, resulting in device drivers that are OS independent. This can provide a cost savings benefit in device driver development, certification and maintenance.
The clock-doubled 80960RD is the newest of Intel's Intelligent I/O Family of processors. Additionally, there is a 3.3V 80960RP to complement the current 5.0V version.
In the performance sensitive server market, the i960 RP/RD I/O processor effectively removes the I/O bottlenecks commonly observed in server applications by increasing the I/O subsystem's performance bandwidth to keep the pace with todays Pentium® and Pentium Pro processors.
The i960 RP/RD I/O processor is a single-chip intelligent I/O subsystem for servers in the enterprise computing environment. I/O subsystems based on the i960 RP/RD I/O processor will improve the speed at which users access and manipulate text, graphic, video and audio data from servers, resulting in improved response times to the clients on the network. The i960 RP/RD I/O processor combines the top performance of the i960 Jx processor core with a fully integrated PCI-PCI bridge. It will free the host CPU of handling many interrupt-driven I/O processing tasks which do not scale well with improvements in host CPU speeds. This increase in server scalability allows additional clients to be efficiently connected to the server.
Product Description
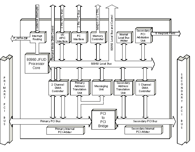
The i960 RP/RD I/O processor is a highly integrated device incorporating the Jx RISC processor core, a PCI-PCI bridge, an I2C interface for system management features, two DMA controllers as well as several other peripherals required to meet server performance requirements. The high level of integration provides a cost effective solution for the server platform while easing the design effort and improving time to market.
I/O Interfaces - Why Add Intelligence?
Historically, intelligent I/O designs have been implemented as adaptor cards that include an embedded processor, memory and various other peripheral components. Although this scheme can still be used with Intel's I/O processors, the increased processing capability of the 80960RD's clock doubled core provides an opportunity to greatly increase the flexibility and reduce the cost of implementing an intelligent I/O subsystem on a server platform. This opportunity is created by placing the I/O processor directly on the motherboard. Locating the Intel IOP on the motherboard provides several benefits, including: the processor cost can be amortized over several functions instead of just one; additional PCI slots can be added to the motherboard without any additional logic; less expensive "client class" cards can be energized to perform like intelligent cards; and there is a level of investment protection for the inevitable advances in I/O technology.
Add-In Card Application

Expanding Server Capabilities
Key Features:
- High-performance i960 Jx processor core
- PCI-to-PCI bridge unit
- Two 64-byte posting buffers
- Forwarding capability of memory, I/O and command cycles from PCI to PCI
- Two address translation units
- Local memory and PCI bus access
- Supports inbound/ outbound address translation
- Messaging unit transfers control information via interrupts
- Private PCI devices
- PCI devices can be hidden on the secondary PCI bus
- Secondary PCI bus arbitration unit
- Six secondary bus masters
- Priority programmable to three levels or disabled
- Three-channel DMA controller
- Two primary and one secondary PCI bus channels
- 32-bit local bus addressing, 64-bit PCI bus addressing
- Full 132 Mbytes/sec burst support to PCI and local buses
- Integrated memory controller
- 256 Mbytes of 32-bit or 36-bit DRAM
- DRAM: Interleaved or noninterleaved, fast page-mode, extended data-out, burst extended data out
The PCI local bus standard limits the number of electrical loads that can be connected to the PCI bus, typically resulting in a maximum of three PCI card slots. The need for additional slots has resulted in the development of PCI-PCI bridges that create a hierarchy of electrically isolated PCI buses.
The i960 RP/RD I/O processor provides the functionality to increase the number of server expansion card slots and to create an intelligent I/O subsystem.
|