IBM Books

MAS V3.3 Protocol Config Ref Vol 1


Using BGP4

This chapter describes how to use the Border Gateway Protocol (BGP) using the BGP configuration commands.

This chapter contains the following sections:


Border Gateway Protocol Overview

BGP is an exterior gateway routing protocol used to exchange network reachability information among autonomous systems. An AS is essentially a collection of routers and end nodes that operate under a single administrative organization. Within each AS, routers and end nodes share routing information using an interior gateway protocol. The interior gateway protocol may be either RIP or OSPF.

BGP was introduced in the Internet in the loop-free exchange of routing information between autonomous systems. Based on Classless Inter-Domain Routing (CIDR), BGP has since evolved to support the aggregation and reduction of routing information.

In essence, CIDR is a strategy designed to address the following problems:

CIDR eliminates the concept of address classes and provides a method for summarizing n different routes into single routes. This significantly reduces the amount of routing information that BGP routers must store and exchange.
Note:IBM only supports the latest version of BGP, BGP4, which is defined in RFC 1654. All references to BGP in this chapter and on the interface of IBM's routers are to BGP4, and do not apply to previous versions of BGP.


How BGP4 Works

BGP is an inter-autonomous system routing protocol. In essence, BGP routers selectively collect and advertise reachability information to and from BGP neighbors in their own and other autonomous systems. Reachability information consists of the sequences of AS numbers that form the paths to particular BGP speakers, and the list of IP networks that can be reached via each advertised path. An AS is an administrative group of networks and routers that share reachability information using one or more Interior Gateway Protocols (IGPs), such as RIP or OSPF.

Routers that run BGP are called BGP speakers. These routers function as servers with respect to their BGP neighbors (clients). Each BGP router opens a passive TCP connection on port 179, and listens for incoming connections from neighbors at this well-known address. The router also opens active TCP connections to enabled BGP neighbors. This TCP connection enables BGP routers to share and update reachability information with neighbors in the same or other autonomous systems.

Connections between BGP speakers in the same AS are called internal BGP (IBGP) connections, while connections between BGP speakers in different autonomous systems are called external BGP (EBGP) connections.

A single AS may have one or many BGP connections to outside autonomous systems. Figure 36 shows two autonomous systems. The BGP speaker in AS1 is attempting to establish a TCP connection with its neighbor in AS2. Once this connection is established, the routers will be able to share reachability information.

Figure 36. BGP Connections between Two Autonomous Systems


Connections between two Autonomous Systems.

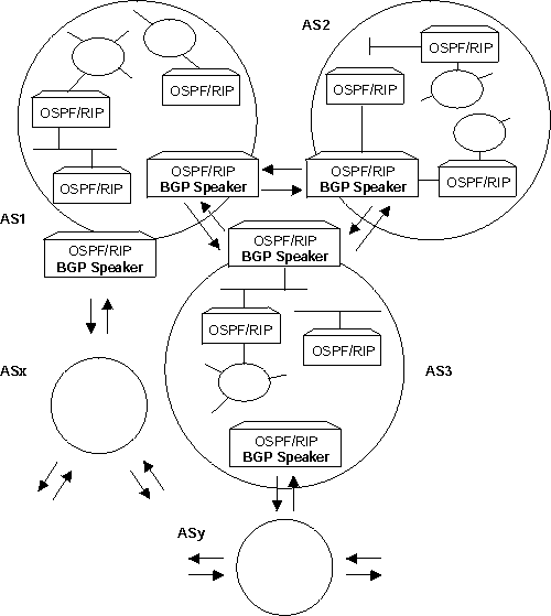
While the autonomous systems shown in Figure 36 have only one BGP router, each could have multiple connections to other autonomous systems. As an example of this, Figure 37 shows three interconnected autonomous systems. AS1 has three BGP connections to outside autonomous systems: one to AS2, one to AS3 and one to ASx. Similarly, AS3 has connections to AS1, AS2 and to ASy.

Figure 37. BGP Connections among Three Autonomous Systems


BGP connections among three autonomous systems

Once a TCP connection is established, the BGP speaker shown in Figure 36 can send its entire routing table to its BGP neighbor in AS2. However, for security or other reasons, it may not be desirable to send reachability information on each network to AS2. Similarly, it may not be desirable for AS2 to receive reachability information on each network in AS1.

Originate, Send, and Receive Policies

Decisions on which reachability information to advertise (send), and which to accept (receive) are made on the basis of explicitly defined policy statements. IBM's BGP implementation supports three types of policy statements:

BGP Messages

BGP routers use four kinds of messages to communicate with their neighbors: OPEN, KEEP ALIVE, UPDATE, and NOTIFICATION messages.

OPEN

Open messages are the first messages transmitted when a link to a BGP neighbor comes up and establishes a connection.

KEEP ALIVE

Keep alive messages are used by BGP routers to inform one another that a particular connection is alive and working.

UPDATE

Update messages contain the interior routing table information. BGP speakers send update messages only when there is a change in their routing tables.

NOTIFICATION

Notification messages are sent whenever a BGP speaker detects a condition that forces it to terminate an existing connection. These messages are advertised before the connection is transmitted.

Setting Up BGP4

Setting up BGP involves three basic steps:

  1. "Enabling BGP".

    Enabling BGP requires you to specify the BGP router's unique AS Number. AS numbers are assigned by Stanford Research Institute Network Information Center.

  2. "Defining BGP Neighbors".

    BGP Neighbors are BGP routers with which a BGP speaker establishes a TCP connection. Once neighbors are defined, connections to them are established by default.

  3. "Adding Policies".

    The policies you establish determine which routes will be imported and exported by the BGP speaker. You can set up policies for different purposes. See "Sample Policy Definitions" for more information.

Enabling BGP

You enable BGP using the enable BGP speaker command as shown.

  BGP Config> enable BGP speaker
  AS [0]? 167
  TCP segment size [1024]?

The AS number must be in the range 1 to 65535. The TCP segment size must be in the range 1 to 65535. The default value for TCP segment is 1024. This number represents the maximum segment size BGP will use for passive TCP connections.

After you have issued the enable bgp command you must reboot the device to enable BGP.

Defining BGP Neighbors

After enabling a BGP speaker, you must define its neighbors. BGP neighbors can be internal or external. Internal neighbors exist in the same AS and do not need to have a direct connection to one another. External neighbors exist in different autonomous systems. These must have a direct connection to one another.

To define internal or external BGP neighbors, use the add neighbor command. You must specify the IP address of the neighbor, and assign an AS number to the neighbor as shown below. Internal neighbors must have the same AS number as the BGP speaker.

  BGP Config> add neighbor 192.0.190.178
  AS [0]? 178
  Init timer [12]? 30
  Connect timer [120]?
  Hold timer [90]? 30
  TCP segment size [1024]? 512

Use the reset neighbor command to activate the specified BGP neighbor, based on the neighbor configuration parameters stored in the configuration memory.

Adding Policies

IBM's BGP implementation supports three policy commands:

If you added or modified a neighbor based policy use the reset neighbor command to activate the neighbor policy. If you added or modified an AS-based policy you must reboot the device.


Sample Policy Definitions

This section provides a set of examples of some specific policies you can set up for a BGP speaker. All policies are defined using the BGP add command. See "Add" for the syntax of the add command.

Originate Policy Examples

Include All Routes for Advertisement

This example includes all routes in the BGP speaker's IGP routing table for advertisement. In this sense, you can view this command as the "default" originate policy statement for BGP.

Notice that the command specifies a range of addresses, rather than a single (exact) address.

  BGP Config> add originate-policy inclusive
  Network Prefix [0.0.0.0]?
  Network Mask [0.0.0.0]?
  Address Match (Exact/Range) [Exact]? range
  Tag [0]?

Exclude a Range of Routes

This example also specifies a range, but in this case the goal is to prevent the BGP Speaker from advertising addresses in this range to its neighbors.

This example excludes all routes in the range 194.10.16.0 to 194.10.31.255 from the IGP routing table, which in turn prevents them from being advertised.

  BGP Config> add originate-policy exclusive
  Network Prefix [0.0.0.0]? 194.10.16.0
  Network Mask [0.0.0.0]? 255.255.240.0
  Address Match (Exact/Range) [Exact]? range
  Tag [0]?

The tag is the received RIP information. You can select networks based on a particular tag value for advertisement. See the description of the Set command in Configuring and Monitoring IP in Protocol Configuration and Monitoring Reference for information on setting the tag value.

By default, only classfull routes from the BGP speaker's IGP routing table will be selected for advertisement. To select a classless route for advertisement use the bgp-subnets patch command. For information about the patch see the chapter "The CONFIG Process (CONFIG - Talk 6) Commands" in Nways Multiprotocol Access Services Software User's Guide.

AS Based Receive Policy Examples

Import all Routes from all BGP Neighbors

This example ensures that the BGP speaker will import all routes from all of its neighbors into its IGP routing table.

  BGP Config> add receive-policy inclusive
  Network Prefix [0.0.0.0]?
  Network Mask [0.0.0.0]?
  Address Match (Exact/Range) [Exact]? range
  Originating AS# [0]?
  Adjacent AS# [0]?
  IGP-metric [0]?

IGP-metric specifies the metric value with which the accepted routes are imported into the speaker's IGP routing table. You are only prompted to enter a value for IGP-metric only when setting up a policy for route inclusion.

If IGP-metric is -1, these routes will not be imported into IGP; thus, routes are not re-advertisable.

Block Specific Routes from an Originating AS

This example will prevent the BGP speaker from importing any routes originating at AS 168 from neighboring AS 165. You might use this command if you do not want the BGP speaker to receive any routes from AS 168 for security reasons.

  BGP Config> add receive-policy exclusive
  Network Prefix [0.0.0.0]?
  Network Mask [0.0.0.0]?
  Address Match (Exact/Range) [Exact]? range
  Originating AS# [0]? 168
  Adjacent AS# [0]? 165

Block Specific ASpath

This example will prevent the BGP speaker from importing any route that has AS 175 in its ASpath list.

  BGP Config> add no-receive
  Enter AS: [0]? 175

Neighbor Based Receive Policy Examples

Import all routes from a specific BGP neighbor, set weight = 100

This example will allow you to import all routes from BGP neighbor 192.0.190.178. All routes will have a weight value of 100 and IGP-metric value of 1.

Define the policy list name for receive policy.

BGP Config> add policy-list
Name[]?S1_100_r
Policy Type(Receive/Send)[Receive]?Receive

Attach the defined receive policy list name to a specific neighbor.

BGP Config> attach policy-to-neighbor
Neighbor address [0.0.0.0]?192.0.190.178
First receive policy list name (none for global AS based policy)[]?S1_100_r
Second receive policy list name (none for exit)[]?

Add receive policies for neighbor using update and add command.

BGP Config>update policy S1_100_r
Policy-list S1_100_r Config>add
Policy type (Inclusive/Exclusive) [Exclusive]? inclusive
Network Prefix [0.0.0.0]?
Network Mask [0.0.0.0]?
Address Match (Exact/Range) [Range]?
Originating AS# [0]?
Any AS# [0]?
MED [0]?
Weight [0]? 100
Local-Pref [0]?
IGP-metric [0]? 1  

AS based Send Policy Examples

Restrict Route Advertisement to a Specific AS

This example restricts the BGP speaker. The speaker cannot advertise routes in the address range 143.116.0.0 to 143.116.255.255, that originate from AS 165, to autonomous system 168.

  BGP Config> add send exclusive
  Network Prefix [0.0.0.0]? 143.116.0.0
  Network Mask [0.0.0.0]? 255.255.0.0
  Address Match (Exact/Range) [Exact]? range
  Tag [0]? 165
  Adjacent AS# [0]? 168

Advertise All Known Routes

This example ensures that the BGP speaker will advertise all routes originated from its IGP, and all routes learned from its neighboring autonomous systems.

  BGP Config> add send policy inclusive
  Network Prefix [0.0.0.0]?
  Network Mask [0.0.0.0]?
  Address Match (Exact/Range) [Exact]? range
  Tag [0]?
  Adjacent AS# [0]?

Neighbor Based Send Policy Examples

Advertise All Known Routes to a Specific Neighbor with MED Attribute value = 100

This example will allow you to advertise all routes to a BGP neighbor 192.0.190.178. All advertise routes will have a MED value of 100.

Define the policy list name for send policy.

BGP Config> add policy-list
Name[]?S1_100_s
Policy Type(Receive/Send)[Receive]?Send

Attach the defined send policy list name(s) to a specific neighbor.

BGP Config> attach policy-to-neighbor
Neighbor address [0.0.0.0]?192.0.190.178
First send policy list name (none for global AS based policy)[]?S1_100_s
Second send policy list name (none for exit)[]?

Add the send policies for neighbor using the update and add commands.

BGP Config>update policy S1_100_s
Policy-list S1_100_s Config>add
Policy type (Inclusive/Exclusive) [Exclusive]?
Network prefix [0.0.0.0]? 
Network mask [0.0.0.0]?
Address match (exact/range) [range]?
Originating AS# [0]?
TAG [0]? 
MED [0]? 100
# of AS to pad [0]? 
 

Route Preference Process

When the BGP speaker receives a path for particular destination from its peer, BGP goes through the following process for selecting a best possible path:

Path Selection Process

The best path is selected based on the following order:


[ Top of Page | Previous Page | Next Page | Table of Contents | Index ]