This chapter describes the X.25 Transport Protocol (XTP) for transporting X.25 traffic over TCP/IP. Included are the following sections:
X.25 Transport Protocol (XTP) provides you with the services of a "protocol forwarder." A protocol forwarder is the focal point for inbound and outbound protocol packet processing. Forwarders receive packets on one network interface and send them to another interface.
XTP is designed to work with X.25 devices that are situated at multiple remote sites. In such environments, XTP can eliminate the use of X.25 packet-switched networks for communicating with servers at one or more centralized locations.
To enable this, you use routers at the server and remote locations to encapsulate the data and deliver the X.25 packets between the clients and server via TCP/IP.
Figure 19 illustrates a network configuration before and after using XTP.
Figure 19. Configuration Before and After XTP
![]() |
X.25 recognizes an incoming call for XTP based on the node addresses configured for XTP. Therefore, in order to transport X.25 traffic between the X.25 nodes, you must configure X.25 to map to the data terminal equipment (DTE) address and IP addresses of the routers to which the nodes are connected.
For example, in Figure 19, you configure X.25 clients on remote routers and on the concentrator router. Remote routers in this example are the routers that connect the X.25 clients to the TCP/IP network that is used to access the X.25 server; the concentrator router connects the X.25 server to the TCP/IP network that is used to access the remote routers.
| Note: | When you configure XTP, if a router is connected to an X.25 switch, it is considered to be DTE. If it is not connected to a switch, it is considered to be DCE (Data Circuit-Terminating Equipment). |
To configure a router for XTP, define the following information from the XTP config> prompt and then restart the router:
To configure local DTEs, use the X.121 address that is assigned to the local DTE. Multiple local DTEs can be configured on an interface.
Peer routers can differ depending on "point of view". For example, in Figure 19, the two remote routers are the peer routers from the perspective of the concentrator router. However, the concentrator router is the peer router from the perspective of the two remote routers.
You designate the peer router by its internal IP address.
Configure a unique IP address for each peer router. For example, in Figure 19, the concentrator router must know the unique IP address of each remote router, and each remote router must know the IP address of the concentrator router.
PVCs, because they are constant channels, are similar to leased telephone lines. A PVC, in the XTP context, is a PVC from a local X.25 DTE node to a remote X.25 DTE.
When you configure a router for PVCs, map the IP address of the peer router and the PVC number of the remote and local DTE. A PVC is identified by four pieces of information which are the:
Additional configuration information can be found at "Configuring XTP" and at "XTP Configuring Commands".
The "*" wildcard is available for DTE address configuration. This is in addition to the "?" character that can be specified in a DTE address to represent any one digit in that position in the address. For example, a specification of "1?2?3" can match address 18243 where the first, third, and fifth digits are 1, 2, and 3, respectively.
The "*" wildcard character can represent any string of zero or more digits. Its use is limited to the end of a DTE address specification. For example: "123*", "5555*", "9*" or "*". The special case of a DTE address of "*" represents any DTE address, even a null address. The null address is useful for handling incoming calls with no calling address in the X.25 Call Request packet.
Use of the "*" wildcard increases the chances for adding a local or a remote DTE address that conflicts with an existing address. The add local-dte and add remote-dte commands are enhanced to provide the conflicting address when the user attempts to add a DTE address that conflicts with an existing address.
Example: xtp config> add local-dte
Interface number [0]? 1
DTE address [ ] 123456
DTE address [ ]?
XTP config>add local-dte
Interface number [0]?1
DTE address [ ]?1*
DTE address conflicts with existing DTE address 123456
The Backup Peer Function allows the association of multiple peer routers with a remote DTE. The user specifies a list of peer routers associated with a remote DTE.
Example:
XTP config>add rem
DTE address [ ]?123456
Peer router's internal IP Address [0.0.0.0]?10.0.0.2
Peer router's internal IP Address [0.0.0.0]?10.0.0.4
Peer router's internal IP Address [0.0.0.0]?11.0.0.1
Peer router's internal IP Address [0.0.0.0]?
When an incoming call for the remote DTE is received, a connection is attempted through each router in the list in the same order that they appear for the remote DTE.
When a DTE initiates a call for a remote DTE, both DTE addresses are inspected to determine if they are acceptable for X.25 transport. If they are acceptable, the X.25 Transport protocol forwarder determines through which peer router to attempt to complete the call. It starts with the first router in the remote DTE's list of peer routers in its search. The first condition that must be met is an active TCP connection to the peer router. If there is not an active TCP connection to the peer, the next router in the list is checked. When an active TCP connection is found, an attempt is made to complete the call. The Connection Request Timer is started to time the call connection process.
The remote DTE search is terminated by one of the following events:
This completes call setup processing and ends the search for the remote DTE.
This causes the search for the remote DTE to proceed to the next router in the peer router list.
This causes the search for the remote DTE to proceed to the next router in the peer router list.
If a pass through the list of peer routers is completed without a successful connection through any of the peer routers, the call to the local DTE is cleared.
The Connection Request Timer is used to ensure that no call setup procedure hangs for an indeterminable time. There is a timer configured for each peer router.
Example:
XTP config>add peer-router
Router's internal IP Address [0.0.0.0]?10.0.0.2
Connection setup timeout [230]?60
The Connection Request Timer can be configured from 10 to 480 seconds. The default is 230 seconds. This default was determined based on the fact that the default setting for the X.25 Call Request Timer is 200 seconds.
The timer is started when an attempt is made to complete a call through a peer router. It is stopped when the call attempt is either accepted or rejected by the peer router.
Local XTP allows you to route incoming X.25 traffic to the same or different interfaces on the current router. To configure local XTP, specify the router's internal IP address as a peer address on the add peer command.
XTP supports closed user groups through the local DTE address defined by the add local or the add cug command. To enable XTP to use closed user groups, you must:
XTP is a protocol forwarder used to transport X.25 traffic over TCP/IP. XTP allows existing X.25 devices to communicate over a TCP/IP backbone and migrate from an X.25 network to a network of your choice.
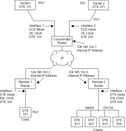
This section defines the detail for configuring the network displayed in Figure 20.
Figure 20. Sample XTP Configuration

This configuration shows three routers, the Concentrator router, Remote 1 router, and Remote 2 router. To make XTP operational on this network, perform the following steps for each of these routers:
| Note: | New configurations do not take effect until you restart the router. |
The data link defines the protocol you are using to send data packets over the network. Define the data link between the router you are configuring and each serial interface. The example in Figure 20 configures a concentrator router with three serial interfaces, two for X.25 and one for PPP.
Set the data-link protocol for the serial interfaces:
Config>set data-link X25 1
Config>set data-link x25 2
Config>set data-link ppp 3
In Figure 20, the IP interface is PPP; enter network 3 at the Config> prompt to configure this PPP interface:
Config>network 3
PPP interface configuration
| Note: | This procedure does not include details about the configuration of PPP. For details, refer to Software User's Guide |
Before configuring XTP, configure the X.25 parameters for each interface. The following example configures the basic parameters for X.25 and is based on the topology in Figure 20.
The parameters you need to configure depend on your network topology. For details about all the X.25 parameters, refer to Software User's Guide
Use the following instructions to configure Interface 1 on the concentrator router as defined in Figure 20.
Config>network 1
X.25 User Configuration
X.25 Config>
X.25 Config>add protocol xtp
Window Size [2]?
Default Packet Size [128]?
Maximum Packet Size [256]?
X.25 Config>set address 100
X.25 Config>set clocking internal
X.25 Config>set speed
Access rate in bps [9600]?19200
X.25 Config>set equipment-type dce
X.25 Config>set pvc low 1
X.25 Config>set pvc high 1
X.25 Config>add pvc
Protocol [IP]?xtp
Packet Channel [1]?
Destination X.25 Address [ ]?101
Window Size [2]?
Packet Size [128]
Use the following instructions to configure interface 2.
Config>network 2
X.25 User Configuration
X.25 Config>
There are three types of SVCs: two-way, inbound and outbound. The defaults are "svc low-two-way = 1" and "svc high-two-way = 64." All other SVC types default to 0. For additional information on SVCs and PVCs, refer to Software User's Guide
X.25 Config>set svc ?
X.25 Config>set svc low-inbound 0
X.25 Config>set svc high-inbound 0
X.25 Config>set svc low outbound 0
X.25 Config>set svc high outbound 0
X.25 Config>set svc low-two-way 2
X.25 Config>set svc high-two-way 2
X25 Config>exit
Config>
Each X.25 public network has its own standard configuration. The National Personality refers to a group of 28 variables that define the characteristics of the public data network. These variables provide the router with control information for packets transferred over the link and influence the X.25 facilities used between and XTP router and its local DTE.
All facilities contained in incoming call requests are passed on to the peer router, regardless of whether the local router was configured to support that facility. For example, when packet size negotiation is requested in the incoming call and flow control negotiation is not configured in the router.
The router will insure any packet size and window size being negotiated is within the range specified when defining the X.25 interface. For example, a packet window greater than 7 is negotiated down to 7 if packet-ext-seq-mode has not been defined for the X.25 interface.
To view the configuration values, enter list detailed at the X.25 Config> prompt. To set the default values for the national personality, enter set national-personality at the X.25 Config> prompt. For further information, refer to Software User's Guide
Before you configure the Concentrator router (as displayed in Figure 20) for XTP, define the IP address for this router. Enter protocol ip at the Config> prompt and enter add address at the IP config> prompt.
Config>protocol ip
IP config>add address
Which net is this address for [0]?3
New address [0.0.0.0]?128.185.100.7
Address mask [255.255.0.0]?255.255.255.0
Each router identifies its peer routers by the internal IP address of the peer routers.
To set the internal IP address of the peer router, enter set internal IP address at the IP Config> prompt.
IP config>set internal-ip-address
Internal IP address [0.0.0.0]?128.185.100.1
After you have configured X.25 and defined the IP address, you are ready to configure XTP for the router.
If you need further configuration information when configuring XTP, see "XTP Configuring Commands".
| Note: | When configuring your network for XTP, remember that the peer routers are always the routers you are communicating with over TCP/IP. Therefore, the peer router can differ depending on the point of view. When configuring the routers defined as Remote 1 router and Remote 2 router in Figure 20, to them the peer router is the Concentrator router. |
Implement the following steps to configure XTP for the router:
XTP config>add local-dte
Interface number [0]?1
Allow inbound calls without calling DTE address? (Y or N) [N]? n
DTE address [ ]?101
Pref CUG []? 18
CUG (2) []? 2
CUG (3) []?
Pref BI-CUG [0]?
DTE address [ ]?
Entering a null DTE address ends the command input.
XTP config>add local-dte
Interface number [0]?2
Allow inbound calls without calling DTE address? (Y or N) [N]? n
DTE address [ ]?201
DTE address [ ]?
Entering a null DTE address ends the command input.
add cug
Pref CUG []? 11
CUG (2) []? 12
CUG (3) []? 13
CUG (4) []? 14
CUG (5) []? 15
add bi-cug
Pref BI-CUG []? 21
BI-CUG (2) []? 22
BI-CUG (3) []?
XTP config>add peer-router
Router's internal IP Address [0.0.0.0]?128.185.100.2
Connection setup timeout [230]?
XTP config>add remote-dte
DTE address [ ]?301
Peer router's internal IP Address [0.0.0.0]?128.185.100.2
Peer router's internal IP Address [0.0.0.0]?
| Note: | A remote DTE is required only if one of the following
applies:
|
XTP config>add peer-router
Router's internal IP Address [0.0.0.0]?128.185.100.3
Connection setup timeout [230]?
XTP config>add remote-dte
DTE address [ ]?401
Peer router's internal IP Address [0.0.0.0]?128.185.100.3
Peer router's internal IP Address [0.0.0.0]?
XTP config>add remote-dte
DTE address [ ]?402
Peer router's internal IP Address [0.0.0.0]?128.185.100.3
Peer router's internal IP Address [0.0.0.0]?
XTP config>add remote-dte
DTE address [ ]?403
Peer router's internal IP Address [0.0.0.0]?128.185.100.3
Peer router's internal IP Address [0.0.0.0]?
XTP config>add remote-dte
DTE address [ ]?404
Peer router's internal IP Address [0.0.0.0]?128.185.100.3
Peer router's internal IP Address [0.0.0.0]?
XTP config>add pvc
Local PVC Range Start [1]?
Local PVC Range End [1]?
Local X.25 DTE address [ ]? 101
Remote PVC Range Start [1]?
Remote PVC Range End [1]?
Remote X.25 DTE address [ ]?301
When entering DTE addresses, you can specify either of the following:
The following is a sample configuration of Remote 1 router and Remote 2 router (see Figure 20). The process is the same as that defined in the section at "Configuration Procedures".
*talk 6
Config>set data-link x25 1
Config>set data-link ppp 2
Config>network 1
X.25 Config>set address 300
X.25 Config>set clocking internal
X.25 Config>set speed 19200
X.25 Config>set equipment-type dce
X.25 Config>set pvc low 1
X.25 Config>set pvc high 1
X.25 Config>add pvc
Protocol [IP]?xtp
Packet Channel [1]?1
Destination X.25 Address [ ]?301
Window Size [2]?
Packet Size [128]?
X.25 Config>exit
Config>
Config>protocol ip
IP config>add address
Which net is this address for [0]?2
New address [0.0.0.0]?128.185.100.8
Address mask [255.255.0.0]?255.255.255.0
IP config>set internal-ip-address
Internal IP address [0.0.0.0]?128.185.100.2
IP Config>exit
Config>
Config>protocol xtp
XTP config>add local-dte
Interface number [0]?1
Allow inbound calls without calling DTE address? (Y or N) [N]? n
DTE address [ ]?301
DTE address [ ]?
XTP config>add peer-router
Router's IP address?128.185.100.1
XTP config>add remote-dte
DTE address [ ]?101
Peer router's internal IP Address ]0.0.0.0]?128.185.100.1
Peer router's internal IP Address [0.0.0.0]?
XTP config>add pvc
Local PVC Range Start [1]?
Local PVC Range End [1]?
Local X.25 DTE address [ ]? 101
Remote PVC Range Start [1]?
Remote PVC Range End [1]?
Remote X.25 DTE address [ ]? 301
*talk 6
Config>set data-link x25 1
Config>set data-link ppp 2
Config>network 1
X.25 Config>set address 400
X.25 Config>set clocking external
X.25 Config>set speed 19200
X.25 Config>set equipment-type dte
X.25 Config>set svc low-inbound 0
X.25 Config>set svc high-inbound 0
X.25 Config>set svc low-outbound 0
X.25 Config>set svc high-outbound 0
X.25 Config>set svc low-two-way 1
X.25 Config>set svc high-two-way 64
X.25 Config>add protocol
Protocol [IP]?xtp
Window Size [2]?
Default Packet Size [128]?
Maximum Packet Size [256]?
X.25 Config>exit
Config>protocol ip
IP config>add address
Which net is this address for [0]?2
New address [0.0.0.0]?128.185.100.9
Address mask [255.255.0.0]?255.255.255.0
IP config>set internal-ip-address
Internal IP address [0.0.0.0]?128.185.100.3
IP Config>exit
Config>
Config>protocol xtp
XTP config>add local-dte
Interface number [0]?1
Allow inbound calls without calling DTE address? (Y or N) [N]? n
DTE address [ ]?401
Pref CUG []? 23
CUG (2) []? 24
CUG (3) []? 25
CUG (4) []? 26
CUG (5) []? 27
DTE address [ ]?402
Pref CUG []?
DTE address [ ]?403
Pref CUG []?
DTE address [ ]?404
Pref CUG []?
DTE address [ ]?
XTP Config>add peer-router
Router's IP address?128.185.100.1
XTP config>add remote-dte
DTE address [ ]?201
Peer router's internal IP Address [0.0.0.0]?128.185.100.1
Peer router's internal IP Address [0.0.0.0]?
XTP config>exit
Config>