TECHNICAL SUPPORT
Alignment ProceduresRCI-7100
Equipment required for Alignment procedure:
• DC Power Supply ( 10.8 Vdc )
• RF Wattmetter
• Digital voltmeter or Multimeter.
• Modulation Meter.
• Audio Signal Generator
• Digital voltmeter or Multimeter.
• Frequency Counter
• RF Signal Generator
• Oscilloscope (50 MHz)
• 50 W dummy load
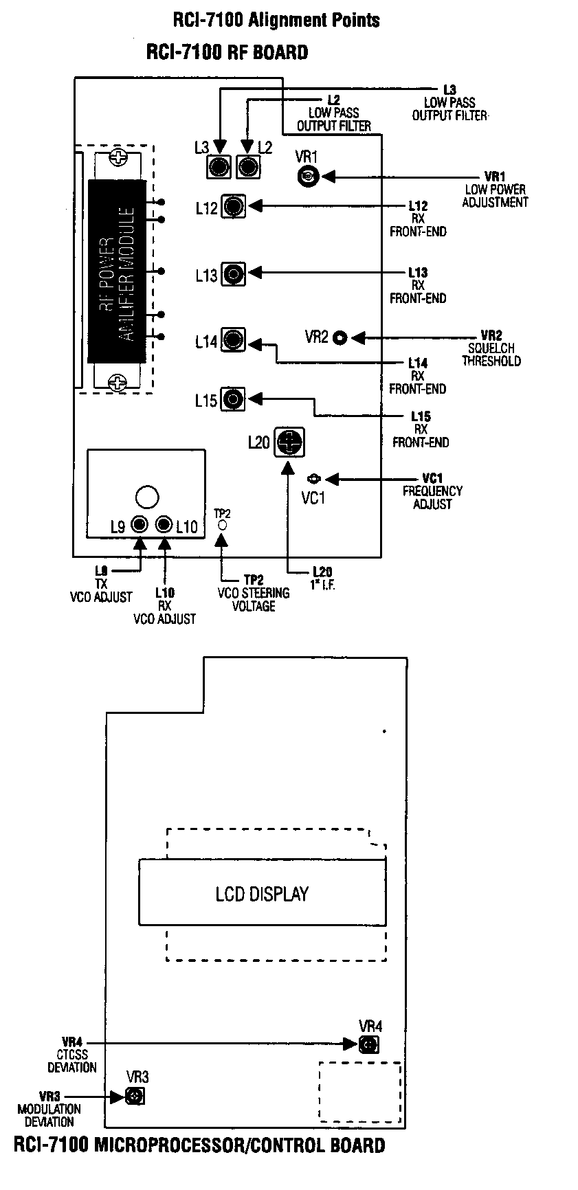
To view Main PCB Adjustment Location of adjustment points, please see this drawing - RCI-7100 Main PCB. After viewing, press "back" to return to this page.
The following steps are required to re-align and tune the RCI-7100.
Caution: Alignment should only be attempted by personnel trained in RF product testing and alignment.
Alignment Procedures:
1. Remove the back cover of the radio by removing the two screws on the back of radio. Remove the back cover with care. Remove the front cover.
2. Apply power to the unit ( 10.8 Vdc ). Turn the unit on and connect the antenna output to a watt meter and dummy load. Select the lowest frequency channel, preferably near the 150 MHz for the RCI-7100VH ( 136 MHz for the RCI-7100VL ).
3. To adjust the TX PLL steering voltage, key the transmitter, measure the DC voltage at TP2.
Adjust L9 to obtain a DC voltage of 1.7Vdc at approximately 150 MHz for the RCI-7100VH ( 2.0 VDC at approximately 136 MHz for the RCI-7100VL ).
NOTE: L9 affects both the Transmitter and Receiver VCO steering voltage, DO NOT reverse the order of step 3 and step 4.
4. To adjust the RX PLL steering voltage, unkey the transmitter, measure the DC voltage of TP2.
Adjust L10 to obtain a DC voltage of 1.7 VDC for the RCI-7100VH ( 1.5 VDC for the RCI-7100VL ).
5. Change to the channel containing the highest programmed frequency, and check the steering voltage at TP2.
Insure that it does not exceed 6.9 VDC on the highest frequency ( both transmit and receive ).
6. Put the unit in the high power mode, transmit on all channels and verify that the transmitter power output is 4.5 watts ± 0.5 watt with no more than 1.7 Amps current draw.
If necessary, L2 and L3 can be spread or compressed to obtain the power and current specifications over the entire band.
7. Put the unit in the low power mode, transmit on the channel that is in the middle of the programmed frequency range and verify that the low power output is 1.0 watts ± 0.2 watt.
If necessary, adjust VR1 ( Low Power Control ).
8. Key the transmitter.
Adjust VC1 to obtain the desired programmed transmitter frequency ( ± 20 Hz ).
9. Transmit and speak forcefully into the microphone.
Adjust VR3 on the Logic Board (transmitter limiter control ) to obtain ± 4.5 KHz modulation.
10. Key the transmitter on a tone channel.
Adjust VR4 on the Logic Board ( CTCSS encode level ) to obtain 600 Hz of CTCSS encode deviation ± 100 Hz.
11. Inject 1 mV of RF signal ( modulated with 1 KHz tone at ± 3 KHz ).
Adjust L20 to obtain minimum distortion on the distortion meter ( measured at the external speaker output jack.
12. Adjust L12, L13, L14, and L15 for maximum receiver sensitivity.
13. Adjust VR2 ( internal squelch control ) to obtain a mid range squelch of the external squelch control.
This completes the alignment procedures.
Return to Top of Page
Return to Alignment Page Return to RCI-7100 Page
E Mail - Sales & Information: sales@rangerusa.com E Mail - Technical Support: techsupport@rangerusa.com
Mailing Address:
Ranger Communications, Inc.
401 W. 35th Street
National City, CA 91950-7909
NOTE:
Ranger is closed Saturday, Sunday, and Holidays.
Hours of Operation - Mon-Fri Technical Support Hours - Mon-Fri Local Telephone Fax Number 8:00 AM to 5:00 PM Pacific Time 10:00 AM - 12:00 PM and
2:00 - 3:30 PM Pacific Time(619) 426-6440 (619) 426-3788
© Copyright 2002, 2003 Ranger Communications Inc. Specifications subject to change without notice.