8 July 2002
Subject: Correction to cryptome.org
Date: Mon, 8 Jul 2002 17:07:45 -0700
From: "John DeTreville" <johndetr@microsoft.com>
To: <jya@pipeline.com>Are you a good contact person for the information on the Microsoft DRM patent (6,330,670) on cryptome.org?
The pages linked from http://cryptome.org/ms-drm-os.htm say that the authors of this patent (England, DeTreville, and Lampson) were identified by Newsweek as Palladium programmers.
I can reliably state that I (DeTreville) am not a Palladium programmer, and neither is Butler Lampson.
I believe that the Newsweek article was referring to a different patent. I'm sure that the Palladium participants jointly hold a significant number of important patents in the field of computer security.
Cheers,
John
Updated 28 June 2002
Newsweek report on Microsoft Palladium which lists these patent owners as Palladium programmers (but see correction above from John DeTreville):
http://www.msnbc.com/news/770511.asp
Ross Anderson on what's wrong with TCPA and Palladium:
http://www.cl.cam.ac.uk/~rja14/tcpa-faq.html
Lucky Green critique of CBDTPA = TCPA Enablement Act:
http://cryptome.org/tcpa-fritz.htm
Selected (among many) Palladium critiques:
http://www.pbs.org/cringely/pulpit/pulpit20020627.html
12 December 2001. Thanks to I.
Source: US Patent Office:
http://www.uspto.gov
| United States Patent | 6,330,670 |
| England , et al. | December 11, 2001 |
A digital rights management operating system protects rights-managed data, such as downloaded content, from access by untrusted programs while the data is loaded into memory or on a page file as a result of the execution of a trusted application that accesses the memory. To protect the rights-managed data resident in memory, the digital rights management operating system refuses to load an untrusted program into memory while the trusted application is executing or removes the data from memory before loading the untrusted program. If the untrusted program executes at the operating system level, such as a debugger, the digital rights management operating system renounces a trusted identity created for it by the computer processor when the computer was booted. To protect the rights-managed data on the page file, the digital rights management operating system prohibits raw access to the page file, or erases the data from the page file before allowing such access. Alternatively, the digital rights management operating system can encrypt the rights-managed data prior to writing it to the page file. The digital rights management operating system also limits the functions the user can perform on the rights-managed data and the trusted application, and can provide a trusted clock used in place of the standard computer clock.
| Inventors: | England; Paul (Bellevue, WA); DeTreville; John D. (Seattle, WA); Lampson; Butler W. (Cambridge, MA) |
| Assignee: | Microsoft Corporation (Redmond, WA) |
| Appl. No.: | 227561 |
| Filed: | January 8, 1999 |
| Current U.S. Class: | 713/2; 713/200; 717/11 |
| Intern'l Class: | G06F 009/44 |
| Field of Search: | 713/1,2,155,164-167,200 717/11 |
| 4827508 | May., 1989 | Shear. | |
| 4969189 | Nov., 1990 | Ohta et al. | |
| 4977594 | Dec., 1990 | Shear. | |
| 5050213 | Sep., 1991 | Shear. | |
| 5140634 | Aug., 1992 | Guillou et al. | |
| 5276311 | Jan., 1994 | Hennige. | |
| 5410598 | Apr., 1995 | Shear. | |
| 5473690 | Dec., 1995 | Grimonprez et al. | |
| 5473692 | Dec., 1995 | Davis. | |
| 5544246 | Aug., 1996 | Mandelbaum et al. | |
| 5654746 | Aug., 1997 | McMullan, Jr. et al. | |
| 5721781 | Feb., 1998 | Deo et al. | 380/25. |
| 5796824 | Aug., 1998 | Hasebe et al. | |
| 5812662 | Sep., 1998 | Hsu et al. | |
| 5812980 | Sep., 1998 | Asai. | |
| 5892900 | Apr., 1999 | Ginter. | |
| 5910987 | Jun., 1999 | Ginter et al. | |
| 5915019 | Jun., 1999 | Ginter et al. | |
| 5917912 | Jun., 1999 | Ginter et al. | |
| 5920861 | Jul., 1999 | Hall et al. | |
| 5933498 | Aug., 1999 | Schneck et al. | |
| 5940504 | Aug., 1999 | Griswold. | |
| 5943422 | Aug., 1999 | Van Wie et al. | |
| 5949876 | Sep., 1999 | Ginter et al. | |
| 5953502 | Sep., 1999 | Helbig, Sr. | |
| 5982891 | Nov., 1999 | Ginter et al. | |
| 5991876 | Nov., 1999 | Johnson et al. | |
| 6006332 | Dec., 1999 | Rabne et al. | |
| 6009274 | Dec., 1999 | Fletcher et al. | |
| 6009401 | Dec., 1999 | Horstmann. | |
| 6073124 | Jun., 2000 | Krishnan et al. | |
| 6112181 | Aug., 2000 | Shear et al. | |
| 6138119 | Oct., 2000 | Hall et al. | |
| 6148402 | Nov., 2000 | Campbell | 713/200. |
| 6157721 | Dec., 2000 | Shear et al. | |
| 6185683 | Feb., 2001 | Ginter et al. |
Primary Examiner: Heckler; Thomas M.
Attorney, Agent or Firm: Lee & Hayes, PLLC
assuming a trusted identity;executing a trusted application;
loading rights-managed data into memory for access by the trusted application; and
protecting the rights-managed data from access by an untrusted program while the trusted application is executing.
2. The computerized method of claim 1, wherein protecting the rights-managed data comprises:
refusing to load the untrusted program into memory.
3. The computerized method of claim 1, wherein protecting the rights-managed data comprises:
removing the rights-managed data from memory before loading the untrusted program.
4. The computerized method of claim 3, further comprising:
terminating the execution of the trusted program.
5. The computerized method of claim 3, further comprising:
renouncing the trusted identity before loading the untrusted program when the untrusted program executes at the operating system level.
6. The computerized method of claim 1, wherein protecting the rights-managed data comprises:
securing the rights-managed data written to a page file by the digital rights management operating system.
7. The computerized method of claim 6, wherein securing the rights-managed data written to a page file comprises:
prohibiting raw access to the page file while the trusted application is executing.
8. The computerized method of claim 6, wherein securing the rights-managed data written to a page file comprises:
erasing the page file before allowing raw access to the page file.
9. The computerized method of claim 8, further comprising:
terminating the execution of the trusted application.
10. The computerized method of claim 6, wherein securing the rights-managed data written to a page file comprises:
encrypting the rights-managed data prior to writing it to the page file.
11. The computerized method of claim 1, further comprising:
protecting the trusted application from modification by an untrusted process while the trusted application is executing.
12. The computerized method of claim 11, wherein protecting the trusted application comprises:
refusing to attach the untrusted process to the trusted application.
13. The computerized method of claim 11, wherein protecting the trusted application comprises:
preventing the untrusted process from accessing memory allocated to the trusted application.
14. The computerized method of claim 1, further comprising:
restricting a user to a subset of available functions for manipulating the rights-managed data.
15. The computerized method of claim 1, further comprising:
restricting a user to a subset of functions available for modifying the trusted application during execution.
16. The computerized method of claim 1 wherein the elements are performed in the order recited.
17. A computer system comprising:
a processing unit;a system memory coupled to the processing unit through a system bus;
a computer-readable medium coupled to the processing unit through a system bus; and
a digital rights management operating system executed from the computer-readable medium by the processing unit, wherein the digital rights management operating system causes the processor to create a trusted identity for the digital rights management operating system.
18. The computer system of claim 17, further comprising:
a trusted application executed from the computer-readable medium by the processing unit, wherein the trusted application causes the processor to load rights-managed data into the system memory, andwherein the digital rights management operating system further causes the processor to protect the rights-managed data while the trusted application is executing.
19. The computer system of claim 18, wherein the digital rights management operating system further causes the processor to write the rights-managed data into a page file on the computer-readable medium and causes the processor to secure the rights-managed data on the page file from access by an untrusted program.
20. The computer system of claim 19, wherein the digital rights management operating system further causes the processor to erase the rights-managed data from the page file before allowing access to the page file by the untrusted program.
21. The computer system of claim 18, wherein digital rights management operating system further causes the processor to revoke the trusted identity and terminate the trusted application prior to loading an untrusted program.
22. A computer-readable medium having computer-executable instructions for a digital rights management operating system stored thereon comprising:
obtaining, from a computer processor, a first value for a monotonic counter;presenting, to a trusted time server, the first value for the monotonic counter;
receiving, from the trusted time server, a certificate binding the first value of the monotonic counter to a time on the trusted time server;
obtaining, from the processor, a second value for the monotonic counter before loading a trusted component;
calculating, using the certificate and the second value, a trusted current time;
comparing a time stamp on a trusted component with the trusted current time; and
determining whether to load the trusted component based on the comparison.
23. The computer-readable medium of claim 22, wherein obtaining and presenting the first value of the monotonic counter occurs on a pre-determined schedule.
24. The computer-readable medium of claim 22, wherein the time stamp comprises a date and time at which the trusted component becomes invalid and the trusted component is loaded when the trusted current time is less than the time stamp.
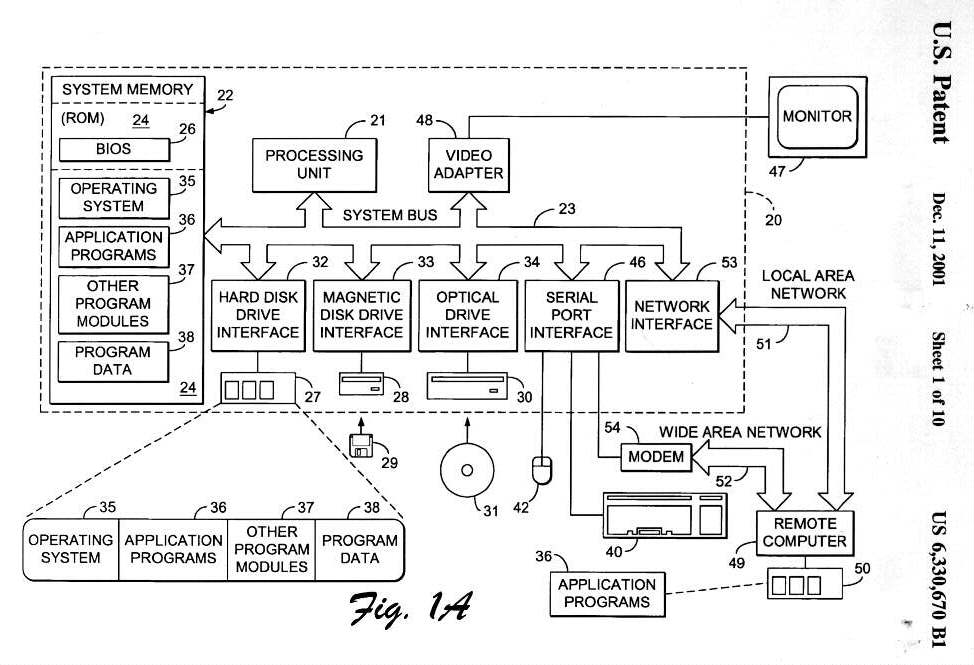
FIG. 1A is a diagram of the hardware and operating environment in conjunction
with which exemplary embodiments of the invention may be practiced;
FIG. 1B is a diagram of a client computer for use with exemplary embodiments
of the invention;
FIG. 2 is a diagram illustrating a system-level overview of an exemplary
embodiment of the invention;
FIG. 3 is a flowchart of a method to be performed by a client when booting
or loading system components according to an exemplary embodiment of the
invention;
FIG. 4 is a diagram of a certificate revocation list data structure for use
in an exemplary implementation of the invention;
FIG. 5 is a flowchart of a method to be performed by a client to create a boot log according to an exemplary embodiment of the invention;
[See above.]
FIG. 6 is a block diagram of an exemplary boot log created using the method
of FIG. 5;
FIGS. 7A, 7B and 7C are block diagrams of boot blocks for use in an exemplary
embodiment of the invention;
FIG. 8 is a block diagram of key generation functions according to an exemplary
embodiment of the invention;
FIG. 9 is a diagram of a rights manager certificate data structure for use
in an exemplary implementation of the invention;
FIG. 10 is a diagram of a required properties access control list data structure for use in an exemplary implementation of the invention; and
[See above.]
FIG. 11 is a diagram of a license data structure for use in an exemplary implementation of the invention.
DETAILED DESCRIPTION OF THE INVENTION
In the following detailed description of exemplary embodiments of the invention,
reference is made to the accompanying drawings, which form a part hereof,
and in which is shown by way of illustration specific exemplary embodiments
in which the invention may be practiced. These embodiments are described
in sufficient detail to enable those skilled in the art to practice the
invention, and it is to be understood that other embodiments may be utilized
and that logical, mechanical, electrical and other changes may be made without
departing from the spirit or scope of the present invention. The following
detailed description is, therefore, not to be taken in a limiting sense,
and the scope of the present invention is defined only by the appended claims.
The detailed description is divided into four sections. In the first section,
the hardware and the operating environment in conjunction with which embodiments
of the invention may be practiced are described. In the second section, a
system level overview of the invention is presented. The third section described
methods and data structures employed by various exemplary embodiments of
the invention. Finally, in the fourth section, a conclusion of the detailed
description is provided.
Hardware and Operating Environment
FIG. 1A is a diagram of the hardware and operating environment in conjunction
with which embodiments of the invention may be practiced. The description
of FIG. 1A is intended to provide a brief, general description of suitable
computer hardware and a suitable computing environment in conjunction with
which the invention may be implemented. Although not required, the invention
is described in the general context of computer-executable instructions,
such as program modules, being executed by a computer, such as a personal
computer. Generally, program modules include routines, programs, objects,
components, data structures, etc. that perform particular tasks or implement
particular abstract data types.
Moreover, those skilled in the art will appreciate that the invention may
be practiced with other computer system configurations, including hand-held
devices, multiprocessor systems, microprocessor-based or programmable consumer
electronics, network PCs, minicomputers, mainframe computers, and the like.
The invention may also be practiced in distributed computing environments
where tasks are performed by remote processing devices that are linked through
a communications network. In a distributed computing environment, program
modules may be located in both local and remote memory storage devices.
The exemplary hardware and operating environment of FIG. 1A for implementing
the invention includes a general purpose computing device in the form of
a computer 20, including a processing unit 21, a system memory 22, and a
system bus 23 that operatively couples various system components, including
the system memory 22, to the processing unit 21. There may be only one or
there may be more than one processing unit 21, such that the processor of
computer 20 comprises a single central-processing unit (CPU), or a plurality
of processing units, commonly referred to as a parallel processing environment.
The computer 20 may be a conventional computer, a distributed computer, or
any other type of computer; the invention is not so limited.
The system bus 23 may be any of several types of bus structures including
a memory bus or memory controller, a peripheral bus, and a local bus using
any of a variety of bus architectures. The system memory may also be referred
to as simply the memory, and includes read only memory (ROM) 24 and random
access memory (RAM) 25. A basic input/output system (BIOS) 26, containing
the basic routines that help to transfer information between elements within
the computer 20, such as during start-up, is stored in ROM 24. The computer
20 further includes a hard disk drive 27 for reading from and writing to
a hard disk, not shown, a magnetic disk drive 28 for reading from or writing
to a removable magnetic disk 29, and an optical disk drive 30 for reading
from or writing to a removable optical disk 31 such as a CD ROM or other
optical media.
The hard disk drive 27, magnetic disk drive 28, and optical disk drive 30
are connected to the system bus 23 by a hard disk drive interface 32, a magnetic
disk drive interface 33, and an optical disk drive interface 34, respectively.
The drives and their associated computer-readable media provide nonvolatile
storage of computer-readable instructions, data structures, program modules
and other data for the computer 20. It should be appreciated by those skilled
in the art that any type of computer-readable media that can store data that
is accessible by a computer, such as magnetic cassettes, flash memory cards,
digital video disks, Bernoulli cartridges, random access memories (RAMs),
read only memories (ROMs), and the like, may be used in the exemplary operating
environment.
A number of program modules may be stored on the hard disk, magnetic disk
29, optical disk 31, ROM 24, or RAM 25, including an operating system 35,
one or more application programs 36, other program modules 37, and program
data 38. A user may enter commands and information into the personal computer
20 through input devices such as a keyboard 40 and pointing device 42. Other
input devices (not shown) may include a microphone, joystick, game pad, satellite
dish, scanner, or the like. These and other input devices are often connected
to the processing unit 21 through a serial port interface 46 that is coupled
to the system bus, but may be connected by other interfaces, such as a parallel
port, game port, or a universal serial bus (USB). A monitor 47 or other type
of display device is also connected to the system bus 23 via an interface,
such as a video adapter 48. In addition to the monitor, computers typically
include other peripheral output devices (not shown), such as speakers and
printers.
The computer 20 may operate in a networked environment using logical connections
to one or more remote computers, such as remote computer 49. These logical
connections are achieved by a communication device coupled to or a part of
the computer 20; the invention is not limited to a particular type of
communications device. The remote computer 49 may be another computer, a
server, a router, a network PC, a client, a peer device or other common network
node, and typically includes many or all of the elements described above
relative to the computer 20, although only a memory storage device 50 has
been illustrated in FIG. 1. The logical connections depicted in FIG. l include
a local-area network (LAN) 51 and a wide-area network (WAN) 52. Such networking
environments arc commonplace in offices, enterprise-wide computer networks,
intranets and the Internet.
When used in a LAN-networking environment, the computer 20 is connected to
the local network 51 through a network interface or adapter 53, which is
one type of communications device. When used in a WAN-networking environment,
the computer 20 typically includes a modem 54, a type of communications device,
or any other type of communications device for establishing communications
over the wide area network 52, such as the Internet. The modem 54, which
may be internal or external, is connected to the system bus 23 via the serial
port interface 46. In a networked environment, program modules depicted relative
to the personal computer 20, or portions thereof, may be stored in the remote
memory storage device. It is appreciated that the network connections shown
are exemplary and other means of and communications devices for establishing
a communications link between the computers may be used.
The hardware and operating environment in conjunction with which embodiments
of the invention may be practiced has been described. The computer in conjunction
with which embodiments of the invention may be practiced may be a conventional
computer, a distributed computer, or any other type of computer; the invention
is not so limited. Such a computer typically includes one or more processing
units as its processor, and a computer-readable medium such as a memory.
The computer may also include a communications device such as a network adapter
or a modem, so that it is able to communicatively couple to other computers.
One exemplary embodiment of a suitable client computer is described in the
related application titled "System and Method for Authenticating an Operating
System to a Central Processing Unit, Providing the CPU/OS with Secure Storage,
and Authenticating the CPU/OS to a Third Party," and illustrated in FIG.
1B as subscriber unit 124. The CPU 140 in the subscriber unit 124 is able
to authenticate the identity of the boot block and OS components that have
been loaded into the computer, and to provide quoting and secure storage
operations based on this identity as briefly described next. Full descriptions
of various embodiments for the subscriber unit 124 are provided in the related
application.
The CPU 140 has a processor 160 and also can have a cryptographic accelerator
162. The CPU 140 is capable of performing cryptographic functions, such as
signing, encrypting, decrypting, and authenticating, with or without the
accelerator 162 assisting in intensive mathematical computations commonly
involved in cryptographic functions.
The CPU manufacturer equips the CPU 140 with a pair of public and private
keys 164 that is unique to the CPU. For discussion purpose, the CPU's public
key is referred to as "K.sub.CPU " and the corresponding private key is referred
to as "K.sub.CPU.sup.-1 ". Other physical implementations may include storing
the key on an external device to which the main CPU has privileged access
(where the stored secrets are inaccessible to arbitrary application or operating
systems code). The private key is never revealed and is used only for the
specific purpose of signing stylized statements, such as when responding
to challenges from a content provider, as is discussed below.
The manufacturer also issues a signed certificate 166 testifying that it
produced the CPU according to a known specification. Generally, the certificate
testifies that the manufacturer created the key pair 164, placed the key
pair onto the CPU 140, and then destroyed its own knowledge of the private
key "K.sub.CPU.sup.-1 ". In this way, only the CPU knows the CPU private
key K.sub.CPU.sup.-1 ; the same key is not issued to other CPUs and the
manufacturer keeps no record of it. The certificate can in principle be stored
on a separate physical device associated with the processor but still logically
belongs to the processor with the corresponding key.
The manufacturer has a pair of public and private signing keys, K.sub.MFR
and K.sub.MFR.sup.-1. The private key K.sub.MFR.sup.-1 is known only to the
manufacturer, while the public key K.sub.MFR is made available to the public.
The manufacturer certificate 166 contains the manufacturer's public key
K.sub.MFR, the CPU's public key K.sub.CPU, and the above testimony. The
manufacture signs the certificate using its private signing key,
K.sub.MFR.sup.-1, as follows:
Mfr. Certificate=(K.sub.MFR, Certifies-for-Boot, K.sub.CPU), signed by
K.sub.MFR.sup.-1
The predicate "certifies-for-boot" is a pledge by the manufacturer that it
created the CPU and the CPU key pair according to a known specification.
The pledge further states that the CPU can correctly perform authenticated
boot procedures, as are described below in more detail. The manufacturer
certificate 166 is publicly accessible, yet it cannot be forged without knowledge
of the manufacturer's private key K.sub.MFR.sup.-1.
The CPU 140 has an internal software identity register (SIR) 168, which contains
the identity of an authenticated operating system 180 or a predetermined
false value (e.g., zero) if the CPU determines that the operating system
180 cannot be authenticated. The operating system (OS) 180 is stored in the
memory 142 and executed on the CPU 140. The operating system 180 has a block
of code 182 that is used to authenticate the operating system to the CPU
during the boot operation. The boot block 182 uniquely determines the operating
system, or class of operating systems (e.g. those signed by the same
manufacturer). The boot block 182 can also be signed by the OS manufacturer.
System Level Overview
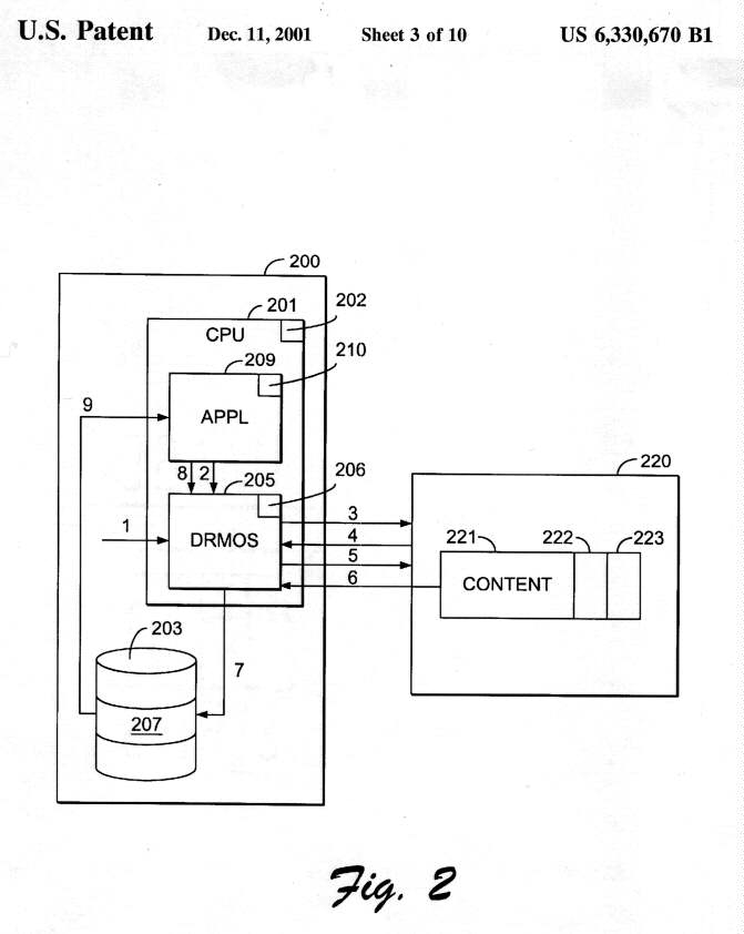
A system level overview of the operation of an exemplary embodiment of the
invention is described by reference to FIG. 2. A subscriber computer 200,
such as client computer 20 in FIG. 1, is connected to a content provider
server computer 220, such as remote computer 49, through a wide-area network,
such as WAN 52. Processes performed by the components of the subscriber computer
200 and the content provider 220 are illustrated by arrows in FIG. 2. Many
of these processes incorporate either public/private key pairs, digital
signatures, digital certificates, and/or encryption algorithms, or a combination
of these standard cryptographic functions. Such functions are assumed to
be provided by the CPU of the subscriber computer in the descriptions that
follow, but can be provided by other well-known cryptographic mechanisms
as will be immediately understood by one skilled in the art.
To prevent their content from being stolen or misused, content providers
will download content only to known software, and therefore only to subscriber
computers that can prove that their operating systems will enforce the
limitations the provider places on the content. Such a digital rights management
operating system (DRMOS) must load and execute only OS components that are
authenticated as respecting digital rights ("trusted"), and must allow access
to the downloaded content by only similarly trusted applications.
The first requirement is met in the exemplary embodiment of the invention
by having all trusted operating system-level components digitally signed
by their developers or a trusted third-party, with the signature acting as
a guarantee that the components respect digital rights. The signature is
validated before the component is loaded. The resulting DRMOS is assigned
a unique trusted identity, as explained in detail below, which is recorded
in an internal register in the CPU, such as SIR 168 in FIG. 1B. FIG. 2
illustrates a DRMOS 205, with its identity 206, after it has been loaded
into the CPU 201 of a subscriber computer 200 through such a loading process
1.
The second requirement has two aspects. First, trusted applications must
be identified in some fashion, and, second, the DRMOS must prevent non-trusted
applications from gaining access to the content when it is stored, either
permanently or temporarily, on the subscriber computer.
In the exemplary embodiment shown in FIG. 2, a trusted application 209 has
agreed to operate in accordance with the limitations placed on content by
a provider. The trusted application 209 is identified through a "rights manager"
certificate 210. In one embodiment, the rights manager certificate 210 extends
a standard digital certificate, which includes such items as date of publication
and name of the application, by adding a list of services, or properties,
provided by the application, i.e., content type handled, version of the
application, whether it saves content to disk, etc. For purposes of the exemplary
embodiment shown in FIG. 2, the certificate 210 also identifies the trusted
application; alternate mechanisms for identifying a trusted application are
described later in the methods section.
The DRMOS 205 provides key-secured storage for permanently stored content
to prevent unauthorized access to the content. For temporarily stored content,
the DRMOS 205 prevents an untrusted process from reading the memory holding
the content. These and other safeguards are also described in detail below.
The permanent and temporary storage within subscriber computer 200 arc
collectively represented by device 203, which is illustrated in FIG. 2 as
a disk drive. Such illustration is not intended to limit the range of devices
that can serve as secured storage for a DRMOS.
Turning now to the remainder of the processes depicted in FIG. 2, application
209 requests 2 the download of content 221 from provider 220. The DRMOS 205
sends a message 3 to the provider 220 requesting the content 221. The content
provider 220 transmits a challenge message 4 to the DRMOS 205 asking for
the identity of the CPU 201, the DRMOS 205, and the application 209. The
DRMOS 205 transmits a response message 5 containing a certificate 202 for
the CPU 201, its own identity 206, and the rights manager certificate 210
for the application 209.
The challenge-response process follows the common protocol for such interchanges,
the difference being only in the data exchanged between the subscriber computer
and the content provider. In one exemplary embodiment of a suitable
challenge-response process described in the related application titled "System
and Method for Authenticating an Operating System to a Central Processing
Unit, Providing the CPU/OS with Secure Storage, and Authenticating the CPU/OS
to a Third Party," the certificate 202 contains the challenge message 3,
the identity of the DRMOS 206, the public key of the CPU 201, and data
representing all software components that are currently loaded and executing
on the subscriber computer 200. The certificate 202 is signed using the private
key of the CPU 201. The content provider 220 examines the CPU certificate
202, the DRMOS identity 206, and the properties specified in the rights manager
certificate 210 to determine whether it should establish a trust relationship
with the DRMOS 205 on the subscriber computer 200.
In an alternate exemplary embodiment, the challenge-response protocol runs
over a secure connection such as SSL (Secure Socket Layer) or TLS (Transport
Level Security), which relies on a session key to encrypt the data transferred
between the subscriber computer 200 and the content provider 220. This stops
an attacker (such as the legitimate owner of the machine) from rebooting
the PC into a different operating system after the DRMOS has authenticated
itself, or using a different computer on the network for snooping on the
data destined for the DRMOS.
If the trust relationship is established, the provider downloads 6 the content
221, an access predicate 222, and a "license" 223 to the DRMOS 205 on the
subscriber computer 200. The access predicate 222 specifies the properties
that an application must have in order to process the content 221, such as
read-only or minimum/maximum video resolution. The access predicate 222 may
also specify specific applications or families of applications allowed to
process the content 221. The license 223 places restrictions on the use of
the content 221 by an approved application, such as the number of times the
content can be accessed or what derivative use can be made of the content.
When the DRMOS 205 receives the content 221, the access predicate 222 and
the license 223, it determines whether the content should be permanently
stored in a key-secured storage. If so, it requests an application storage
key from the CPU 201. In the present example, the application storage key
is specific to the application 209 that requested the content 221. The content
221 and the license 223 arc encrypted using the application storage key and
the access predicate 222 is attached to the encrypted information. If the
content 221 is to be stored only temporarily, the DRMOS 205 places various
safeguards around the memory area holding the content so that the content
cannot be accessed by an untrusted application. The generation of application
storage keys and the memory safeguards are described in detail below.
Each time application 209 wants to access the stored content 221, it passes
its rights manager certificate 210 and the appropriate application storage
key (action 8) to the DRMOS 205. The DRMOS 205 validates the key and compares
the rights manager certificate 210 against the access predicate 222. Assuming
the storage key is authenticated and the rights manager certificate 210 satisfies
the access predicate 222, the content 221 and the license 223 are decrypted.
The DRMOS determines if the application's use of the content is permitted
under the license 223 and allows access 9 if it is.
The system level overview of the operation of an exemplary embodiment of
the invention has been described in this section of the detailed description.
A series of processes and data structures on a subscriber computer control
the loading of a digital rights management operating system, identify the
DRMOS and trusted applications to a content provider, and secure content
downloaded by the provider to the subscriber computer. While the invention
is not limited to any particular hardware and software, for sake of clarity
only a minimal hardware and software configuration necessary to process
multimedia has been assumed for the subscriber computer.
Methods of Exemplary Embodiments of the Invention
In the previous section, a system level overview of the operation of exemplary
embodiments of the invention was described. In this section, the particular
methods performed by a subscriber computer, or client, of such exemplary
embodiments are described by reference to a series of flowcharts and operational
diagrams. The methods to be performed by the client constitute computer programs
made up of computer-executable instructions. Describing the methods by reference
to flowcharts and operational diagrams enables one skilled in the art to
develop such programs including such instructions to carry out the methods
on suitable computerized clients (e.g., on the processor of a client executing
the instructions from computer-readable media). Data structures necessary
to perform the methods are also described in this section. The methods of
the content provider server computer are described to complete the understanding
of the methods performed by the client.
Although many of the methods are interrelated, they have been divided into
four groups to facilitate understanding. The boot/load process and various
mechanisms for creating identities for different versions of a digital right
management operating system (DRMOS) are first described. The functions that
must be provided by the DRMOS to ensure the enforcement of the content providers'
rights are described next. The third group consists of methods directed toward
providing permanent storage of the content on the subscriber computer once
downloaded, and protecting that content from unauthorized access. Finally,
the identification of trusted applications and the rights management functions
are described.
Booting/Loading and Identifying the DRMOS
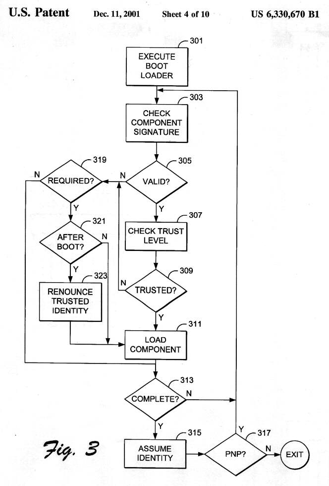
Referring first to FIG. 3, a flowchart of a method to be performed by a
subscriber computer according to an exemplary embodiment of the invention
is shown. This method is inclusive of the acts required to be taken by the
computer to boot a DRMOS or to load additional components after the boot
process is complete. Exemplary embodiments of boot block data structures
are described below in conjunction with FIGS. 7A-C.
Shortly after a computer is turned on or is reset, a small program called
a boot loader is executed by the CPU (block 301). The boot loader loads a
boot block for a particular operating system. Code in the boot block then
loads various drivers and other software components necessary for the operating
system to function on the computer. The totality of the boot block and the
loaded components make up the identity of the operating system.
For a DRMOS, that identity can be trusted only if the boot block and the
loaded components are trusted. In the embodiments described herein, all
components are signed by a trusted source and provided with a rights manager
certificate. An exemplary embodiment of the rights manager certificate is
described below in conjunction with FIG. 9.
The operating system checks the signature of a component before loading it
(block 303). If the signature is valid (block 305), the component has not
been compromised by someone attempting to circumvent the boot process and
the process proceeds to check the level of trust assigned to the component
(block 307). If the signature is not valid (or if there is no signature)
but the component must be loaded (block 319), the operating system will not
assume the identity of a DRMOS upon completion of the boot process as explained
further below.
A plug-and-play operating system provides an environment in which devices
and their supporting software components can be added to the computer during
normal operation rather than requiring all components be loaded during the
boot process. If the device requires the loading of an untrusted component
after the boot process completes, a plug-and-play DRMOS must then "renounce"
its trusted identity and terminate any executing trusted applications (block
323) before loading the component. The determination that an untrusted component
must be loaded can be based on a system configuration parameter or on
instructions from the user of the computer.
Assuming the signature is valid (block 305) and the component is trusted
(block 309), it is loaded (block 311). The trustworthiness of a component
can be decided using various criteria. In one embodiment, only components
provided by the operating system developer are trusted. At the other end
of the scale, in another embodiment, all components are assumed trustworthy
by the DRMOS, leaving the final decision to the content provider as described
in more detail below. Still a third alternate embodiment provides that components
signed by any of a select number of entities can be considered as equivalent
to components provided by the DRMOS developer. In this embodiment, the identity
of the resulting operating system is considered equivalent to the "pure"
DRMOS provided by the DRMOS developer. The content provider decides whether
it trusts the equivalent operating system.
Furthermore, not all versions of a component may be trusted. Because the
rights manager certificate contains the version number of the component,
it can be used to verify the trust level of a particular version. One embodiment
of the loading process checks a component certification revocation list (CRL)
to determine whether a component signature has been revoked. The CRL can
be provided by the content provider or the DRMOS developer. An exemplary
embodiment of a CRL is illustrated in FIG. 4. Each entry 401 contains the
name of the component 403, the version 405, and the signer 407 whose signature
is revoked. The particular CRL used becomes part of the operating system
identity using a standard hashing functions described further below.
Alternatively, if the rights manager certificates on the components are
short-lived and must be renewed periodically, then a version that is found
to be untrustworthy will not have its certificate renewed. This alternate
embodiment requires a secure time source to be available on the subscriber
computer so the user cannot simply turn back the system clock on the subscriber
computer. A monotonic counter in the CPU can serve as this secure time source
since it only counts up and cannot be reset "back in time." For example,
a monotonic counter that is periodically incremented while the CPU is active,
and that cannot be reset, can be used in conjunction with a secure time service,
such as a secure Internet time service, to provide a lower bound on the current
time in a trusted manner. Such exemplary use of a monotonic counter is described
in detail below as part of the functions of the DRMOS.
Once all components are loaded, the operating system assumes its identity
(block 315). In one embodiment, a one-way hashing function provided by the
CPU is used to create a cryptographic "digest" of all the loaded components.
The digest becomes the identity for the operating system and is recorded
in an internal register in the CPU. Alternate methodologies of assigning
an identity to the loaded components are equally applicable as long as a
non-trusted configuration cannot have the same identity as a DRMOS. Signing
the operating system identity with a private key particular to the type of
CPU serves to identify both the operating system and the processor on which
it is executing.
If all computers were identically configured, a single, signed operating
system identity would suffice to authenticate a particular operating system
executing on a particular type of CPU. However, computers contain a myriad
different hardware components, and the corresponding supporting software
components are frequently updated to add enhancements and fix problems, resulting
in a virtually unlimited number of operating system identities. Therefore,
the content provider would have to maintain a registry of each subscriber's
DRMOS identity or delegate that function to a trusted third party.
The problems attendant on having a vast number of DRMOS identities can be
alleviated in at least three ways. First, an identity is generated or assigned
for the basic configuration of each operating system. Such a basic configuration
includes only components supplied by the operating system vendor. The identity
is generated (or assigned) and stored when the basic components have been
loaded. Different versions of the basic operating system will generate (or
be assigned) different identities.
Once the basic configuration of a DRMOS is loaded and its trusted identity
is stored, subsequent components required to support the particular hardware
configuration must be verified and loaded as explained in conjunction with
FIG. 3. Such additional software components can also include updates to the
basic components provided by vendors other than the operating system developer.
Each additional loaded component has an individual identity (such as a
cryptographic digest) generated/assigned and stored. All the identities are
uploaded to the content provider when the DRMOS identity is requested. Because
the basic DRMOS and additional components always have the same identities
when executing on a specific type of processor, the content provider has
only to maintain a list of the identities for the combinations of the basic
DRMOS and additional components that the provider trusts. Each identity uploaded
is then checked against the list.
In a second alternate embodiment, the operating system maintains a "boot
log," containing the identity of the basic DRMOS and the identities of the
additional OS components that have been loaded. The identity is a cryptographic
digest of the code for the component, or a well-known name, or any other
string that is uniquely associated with the component. The CPU also maintains
a composite identity register that holds a one-way cryptographic function
of the boot log. Whenever a component is loaded, its identity is appended
to the boot log and folded into the composite identity register, such as
by setting this register to a secure hash of its old value appended with
the new component's identity. Whenever the CPU certifies the current value
of its composite identity register, it also verifies that the operating system's
boot log has not been tampered with. Because the log is indelible, the loaded
component cannot erase the record that shows it was loaded.
An alternate exemplary embodiment of the boot log holds the entire boot log
in the CPU. The DRMOS uses an instruction provided by the CPU that appends
the identity of each loaded component to the log. The CPU then signs the
boot log to attest to its validity and delivers the signed boot log to the
content provider as the identity for the DRMOS.
In another alternate embodiment, DRMOS uses a chain of public and private
key pairs newly generated by the CPU to create an indelible boot log. The
method is shown in FIG. 5 and an exemplary embodiment of the completed boot
log is illustrated in FIG. 6. The boot loader generates or obtains a first
key pair (K.sub.0, K.sub.0.sup.-1) and records the first key pair in memory
(block 501). The first public key is also saved to secure storage in the
CPU. The boot loader loads the boot block into memory and records the identity
of the boot block in the boot log (block 503). Before turning control over
to the boot block code, the boot loader obtains a second key pair (K.sub.1,
K.sub.1.sup.-1) (block 505), writes the second public key (K.sub.1) to the
boot log (block 507), and then signs the boot log with the first private
key (K.sub.0.sup.-1) (block 509). The boot loader deletes the first private
key (K.sub.0.sup.-1) from its memory (block 511) and relinquishes control
to the boot block.
The boot block code loads additional components into memory, records the
identities of those components to the boot log (block 515), obtains a third
key pair (K.sub.2, K.sub.2.sup.--1) (block 505), appends the boot log with
the third public key (K.sub.2) (block 507), and signs its portion of the
boot log with the second private key K.sub.1.sup.-1 (block 509). The boot
block erases the second private key (K.sub.1.sup.-1) (block 511) from memory
and turns control of the boot process over to the first loaded component.
Each loaded component that will load additional components obtains a new
key pair ( K.sub.n, K.sub.n.sup.-1) and uses the private key of the previous
key pair (K.sub.n-1.sup.-1) to sign its portion of the boot log. The boot
process continues in this iterative manner through until all components are
loaded or, in the case of a plug-and-and play DRMOS, a content provider challenge
is received (block 513).
When a non-plug-and-play DRMOS resumes control after the final component
is loaded, it places a "sentinel" on the boot log (block 519) to indicate
that the log is complete and to prevent a loaded component from deleting
entire lines of the log. The characteristics of the sentinel are that is
a known, unique value that is signed using the last private key (K.sub.n.sup.-1).
In the present embodiment, the sentinel is a signed zero entry. The DRMOS
deletes the last private key and all public keys from memory after creating
the sentinel.
Because a plug-and-play DRMOS cannot arbitrarily declare that all components
are loaded at the end of the boot process, the DRMOS cannot add a sentinel
to the end of the boot log at that time. Instead, the DRMOS attests to its
most recent public key K.sub.n as well as its first public key K.sub.0 to
certify the contents of the boot log when challenged.
Using a chain of key pairs 606, 607, as shown in FIG. 6, guarantees the boot
log reflects the loaded components. Each public key in a log section is used
to authenticate the signature on the next section. The first public key remains
in memory to authenticate the signature on the boot block section of the
log. While each set of components is free to load more components, a component
cannot change the recording of its identity in a previous portion of the
log because doing so would cause the validity check on the corresponding
signature to fail. Similarly, a section in the middle of the log cannot be
deleted because that would break the chain of keys. Deleting multiple sections
of the log through to the end also breaks the chain. In this case, attempting
to insert a new sentinel in an effort to make the log appear unaltered will
fail because the private key necessary to add the sentinel is no longer
available. Finally, the entire boot log cannot be replaced since the signature
on the boot block section of the log would not be validated by the first
public key.
Turning now to the boot block, one exemplary embodiment suitable for use
with a digital rights management operating system is shown in FIG. 7A. The
boot code 701 is signed (signature 703) by the developer of the DRMOS using
its private key. The corresponding public key 705 of the developer is attached
to the boot block 700. In an alternate embodiment, the public key 705 is
not attached to the boot block 700, but instead is persistently stored in
an internal register in the CPU. The public key 705 is used to validate the
signature 703.
If the DRMOS developer's private key used to sign the boot block is compromised,
the key pair must be changed and thus all boot blocks must be reissued to
subscriber computers. FIG. 7B illustrates an alternate embodiment of a boot
block that ameliorates this problem. Boot block 710 comprises a basic boot
section 711 and an intermediate boot section 713. The basic boot section
711 contains boot code 715 that validates and loads the intermediate boot
section 713 and components not provided by the DRMOS developer. The intermediate
boot section 713 contains boot code 717 that validates and loads components
from the DRMOS developer. The intermediate boot section 713 is signed with
a special boot block private key. The basic boot code 715 uses a corresponding
boot block public key 719 stored in the basic boot section 711 to validate
the intermediate boot section 713. Components 727 from the DRMOS developer
are signed 729 with the developer's standard private key and the intermediate
boot section 713 uses the DRMOS developer's standard public key 721 to validate
those components.
If the standard private key used to sign components is compromised, the developer
creates a new standard key pair and provides a replacement intermediate boot
block 713 containing the new standard public key. Replacement components
signed with the new standard private key are also issued. Because the special
boot block private key is used for few, if any, other purposes than signing
boot blocks, it is less likely to be compromised and replacement of the basic
boot section 711 will rarely be necessary.
In FIG. 7C, an alternate embodiment of the single section boot block 730
also uses a special boot block key pair. The boot block 730 contains the
special boot block, or master, public key 733. The master private key is
used to certify ephemeral keys that are valid for a short period of time.
Certificates signed 737 by the master private key attest to the validity
of the ephemeral keys. A component is signed with one of the ephemeral private
keys and the corresponding certificate 739 is attached. The boot block determines
that the certificate on the component is valid using the master public key.
When the ephemeral key expires, the DRMOS developer issues replacement
components. As with the two-section boot block shown in FIG. 7B, the master
private key is only used to sign the certificates for the ephemeral keys
so it is less likely to be compromised. Because the ephemeral keys are valid
for only a short duration, public release of a private ephemeral key has
limited impact.
Functions of a DRMOS
As described above, components may be valid only until a specified date and
time, and content may also be licensed only until a certain date and time.
The monotonic counter described earlier can also be used to ensure that the
computer's clock cannot be set backwards to allow the replacement of a trusted
component by an earlier, now untrusted version. The DRMOS connects on a regular
basis to a trusted time server and presents the value of its monotonic counter,
whereupon the trusted time server returns a certificate binding that value
to the current time. If the monotonic counter is updated periodically, such
as every hour that the DRMOS is running, then the monotonic counter in
conjunction with the most recent time certificate can serve as a useful
approximation to a trusted clock.
A DRMOS must also protect the content once it is loaded into the client
computer's memory by a trusted application. In particular, the DRMOS must
prohibit the use of certain types of programs and refrain from performing
certain common operating system procedures when content is in memory.
An example of one kind of procedure that must be prohibited is loading a
kernel debugger because it would allow the user to make a copy of the content
loaded in memory. If the user of the subscriber computer attempts to load
a kernel debugger into memory, the DRMOS can either 1) refuse to load the
debugger, or 2) renounce its trusted identity and terminate the trusted
application that was accessing the content before loading the debugger. In
the latter case, the memory must also be purged of the content before the
debugger is loaded. The choice of action can be predetermined or chosen by
the user when the user attempts to load the kernel debugger. One of skill
in the art will immediately identify other types of programs that will need
to be treated in the same manner as a kernel debugger.
Virtual memory operating systems maintain a page file that holds sections
of program code and data that are not currently active. Under normal
circumstances, the contents of the page file are accessible by the user of
the computer, either by running a privileged program or by booting another
operating system that allows inspection of the disk. Therefore, a DRMOS must
either protect content stored on the page file or must not page content and
similar protected information at all.
Protecting content on the page file can be accomplished in at least three
ways. First, the DRMOS can prohibit all "raw" access to page file device
when a trusted application is running. Second, the DRMOS can terminate all
trusted applications and erase the page file before allowing such access.
Third, the DRMOS can encrypt the content and similar protected information
before writing it to the page file.
Often, a DRMOS must allow the user to perform certain standard functions
but prohibit other, related functions. The DRMOS can assign the user permissions
based on the granularity of the normally permitted function. For example,
the DRMOS can allow the user to delete an entire content file but not a portion
of it. Another example is that the DRMOS can allow the user to terminate
all the threads of execution for a trusted application but not just a single
thread.
Finally, a DRMOS must protect the trusted application itself from tampering.
The DRMOS must not allow other processes to attach to the process executing
the trusted application. When the trusted application is loaded into memory,
the DRMOS must prevent any other process from reading from, or writing to,
the sections of memory allocated to the trusted application without the explicit
permission or cooperation of the trusted application
Key-based Secure Storage
In order to protect content permanently stored on the subscriber computer,
the DRMOS must provide a secure storage space. In essence, the DRMOS must
securely store private keys or session keys for use with encrypted content,
or provide some other mechanism for keeping these keys secret from other
OSs or system level software. These keys can be used for the secure storage
and retrieval of protected information. In the exemplary embodiments described
in this section, the information to be stored in a protected format is encrypted
using one of a set of keys that may be generated by a function 800 (FIG.
8) provided by the CPU. The storage key generation process is tightly coupled
to the DRMOS so that the same key cannot be generated by the CPU for an unrelated
operating system, or by any software on another computer. Three types of
storage keys are envisioned as illustrated in FIG. 8: an OS storage key 801,
an application storage key 811, and a user storage key 821. Each key is specific
to the entity that requests it.
Beginning with the OS storage key 801, the DRMOS passes a "seed" 803 as an
operand of a key-generation instruction ("GenerateKey") 805 to the CPU and
receives an OS storage key based on the seed 803 and the identity of the
DRMOS. The CPU will always return the same OS storage key 801 when the same
seed 803 is provided by the same DRMOS but will return a different OS storage
key if the same seed 803 is provided by an unrelated operating system. Because
an unrelated operating system cannot get the same key 801, it cannot read
any data encrypted by the DRMOS.
In an alternate embodiment, only a single operating system storage key is
used by the DRMOS as described below. Therefore, in this embodiment only
the identity of the DRMOS is factored into the key generation function 800
and the seed 803 is not necessary.
An application storage key 811 is generated when an application calls an
operating system instruction ("GenerateApplKey") 815 using a seed 813. The
DRMOS passes the seed 813 through an application-specific one-way hash function
817 to produce a hashed seed 819. The hashed seed 819 is then passed to the
CPU through the GenerateKey instruction described above. The resulting
application storage key 811 is returned to the application for use. Because
the GenerateKey function uses the operating system's identity, the same
application executing under an unrelated operating system cannot get the
same key, and therefore cannot access the encrypted data, even if it requests
the key using the same seed 81
. Similarly, an unrelated application using the same seed 813 gets a different
key because the DRMOS passes the seed 813 through a different hash algorithm
for each application.
In an alternate embodiment, the operating system stores decryption keys for
applications using its own identity; the applications call the operating
system to retrieve application keys. This also provides a way for an application
to allow other applications access to its key and therefore to the content
encrypted by the key. Instead of creating a secret using a seed 813, the
application passes in the access predicate for the content. The access predicate
designates values that must be present in the rights manager certificate
for an application wishing access to the content. An exemplary embodiment
for an access predicate is shown in FIG. 9 and described in detail in the
following section. The DRMOS supplies the seed 813 that is required to generate
the application specific key and passes the seed 813 through a generic one-way
hash. The DRMOS encrypts the seed 813 and the access predicate using an OS
storage key and associates the encrypted access predicate with the encrypted
seed. When any application requests access to a key protected by an access
predicate, the DDRMOS compares the criteria in the access predicate against
the rights manager certificate of the requesting application. An application
that meets the criteria is given access to the seed 813 and therefore to
the application storage key. Because the seed 813 is encrypted using an OS
storage key, an application that is running under an unrelated operating
system will be unable to gain access to the encrypted data because the unrelated
operating system cannot decrypt the seed 813.
Finally, a particular user can request a key that is based on a user identity
assigned by the DRMOS or another facility that guarantees a unique identity
for each user. The user supplies a seed 823 in a "GenerateUserKey" call 825.
The operating system passes the seed 823 through a one-way hash 828, and
then passes the resulting first hashed seed 827 through a keyed hash routine
829 to generate a second hashed seed 833. The operating system factors the
user identity 831 into the keyed hash routine 829 so that the second hashed
seed 833 is unique to the user. The second hashed seed 833 is passed to the
CPU, which returns the user storage key 821. As described above, only the
same user will be able to access data encrypted with the storage key 821
when the DRMOS that generated the key is executing. Analogously, the keyed
hash routine 829 guarantees that the user storage key will not duplicate
either an OS storage key or an application storage key based on the same
seed. Such a facility is used when downloaded content can be accessed only
by a particular user. Moreover, if downloaded content is to be accessed only
by a particular user and by a particular application, the secret to be stored
may be divided into parts, with one part protected by an application-specific
key and the other part protected by a user-specific key.
Once the data is encrypted using the storage keys, there must be a way to
recover the keys when the DRMOS identity changes (as when the operating system
is upgraded to an incompatible version or an unrelated operating system is
installed) or the computer hardware fails. In the exemplary embodiments described
here, the keys are stored off-site in a "key vault" provided by a trusted
third party. In one embodiment, the DRMOS contains the IP addresses of the
key vault providers and the user decides which to use. In another embodiment,
the content provider designates a specific key vault and the DRMOS enforces
the designation. In either embodiment, when the user requests the restoration
of the storage keys, the key vault provider must perform a certain amount
of validation before performing the download. The validation process can
include such actions as recording the identity of the original operating
system (or computer) in a revocation list, checking the frequency of the
requests, and requiring a credit card number before downloading the storage
keys.
Rights Management
Most operating systems do not directly process media content, such as video
or audio. That function is usually available through special application
programs. Therefore, a content provider must not only trust the operating
system but must also trust the application that will process the content.
Content also can be accompanied by a predicate stating which applications
are to be trusted to access that content, and this statement can include
a list of generic properties that implicitly define a set of applications.
Further associating a rights manager certificate with the application provides
identification of the application and certification of its properties. This
allows the content provider to determine if the application fulfills the
requirements of the content provider before downloading content, and also
allows the operating system to restrict future access to only the appropriate
applications.
One exemplary embodiment of a rights manager certification is shown in FIG.
9. A list of application properties 903 is appended to the digital certificate
fields 901 standard in some digital certificate format such as X.509. The
certificate names the application. Each entry 905 in the list 903 defines
a property 906 of the application, along with optional arguments 907. For
example, one property might be that the application cannot be used to copy
content. Another example of a property is one that specifies that the application
can be used to copy content, but only in analog form at 480P resolution.
Yet another example of a property is one that specifies that the application
can be used to copy content, but only if explicitly allowed by an accompanying
license. Additional examples include the right to store an encrypted copy
of the content and to restrict such storage to only certain, acceptable
peripheral devices. The property 906 can also be used to specify acceptable
helper applications, such as third-party multimedia processing stacks or
other libraries, to be used in conjunction with the application named in
the certificate. The certificate is signed by an operating system vendor,
content provider, or third party, certifying the properties of the application.
Because the content provider must trust the DRMOS and application to protect
the content from misuse once downloaded, the content provider attaches an
access predicate to the content. This access predicate can also include a
license to the content. The basic functions of both the access predicate
and the license, which were described in the system overview, are explained
in detail next.
In one embodiment, the access predicate takes the form of a required properties
access control list (ACL) as shown in FIG. 10. The required properties ACL
1000 contains a basic trust level field 1001, which specifies the minimum
rights management functions that must be provided by any application wishing
to process the content. These minimum functions can be established by a trade
association, such as the MPAA (Motion Picture Association of America), or
by the DRMOS vendor. A unique identifier is used to reference a list of the
minimum functions. The minimum functions list can include CPU, DRMOS, and
application specific requirements.
The required properties ACL 1000 can also contain one or more extended trust
level fields 1003. The extended trust level fields 1003 contains identifiers
that specify additional rights management function that must be provided
by the subscriber computer. For example, a required properties ACL can require
that only a certain version of a particular application be allowed access
to the content. The required properties ACL 1000 is compared against the
certificates for the CPU, the DRMOS, and the application starting at the
hardware level, i.e., CPU, DRMOS, application name, version, and specific
properties for the application. One of skill in the art will readily recognize
that the required properties ACL 1000 can require that all properties must
be present, or at least one of the properties, or some specified subset.
The content license (FIG. 11) imposes additional restrictions on what kind
of processing can be performed on the content once an application has access
to the content. As described briefly above, the license data structure 1100
can limit the number of times the content can be accessed (usage counter
1101), determine what use can be made of the content (derivation rights 1103),
such as extracting still shots from a video, or building an endless loop
recording from an audio file, or a time-based expiration counter 1105.
The license can also specify whether or not a trusted application is permitted
to validate other client computers and share the content with them (sublicense
rights 1107), in effect having the subscriber computer act as a secondary
content provider. The sublicense rights 1107 can impose more restrictive
rights on re-distributed content than those specified in a license for content
downloaded directly from the original content provider. For example, the
license 1100 on a song purchased directly from the music publisher can permit
a song to be freely re-played while the sublicense rights 1107 require a
limit on the number of times the same song can be re-played when redistributed.
To enforce the sublicense rights 1107, in one embodiment, the trusted application
modifies the original license 1100 to specify the additional restrictions
and downloads the modified license with the re-distributed content. In an
alternate embodiment, the original content provider downloads a sublicense
along with the content and that sublicense is re-distributed by the trusted
application when it re-distributes the content. The sublicense is structurally
identical to the license data structure 1100 although the content of the
fields differs.
Additional licensing restrictions will be readily apparent to one skilled
in the art and are contemplated as within the scope of the invention.
The license 1100 is stored with the content on secured storage. In one
embodiment, the required properties ACL 1000 is also stored with the license
1100 and the content. In an alternate embodiment, the ACL 1000 is secured
separately and controls access to the storage key for the content as described
above.
In the embodiments described above, the DRMOS is responsible for checking
the required properties ACL and for enforcing the licensing restrictions.
By providing the validation functions in the DRMOS, the functions are centralized
and can be utilized by any process. In an alternate embodiment, the validation
functions concerning the application are coded directly into the trusted
applications programs. A similar effect is achieved in yet another alternate
embodiment that places the application validation functions in a library
that is incorporated into the trusted applications.
One of skill in the art will immediately perceive that certain rights are
more easily enforced at the DRMOS level, such as the right for a certain
application to access a key or other content, or the ability to open a file
a limited number of times, while other types of rights are best enforced
by the application itself. Since the DRMOS enforces the restriction that
only explicitly stated applications can access restricted content, the
application can be trusted to enforce the additional restrictions. Alternate
embodiments in which the enforcement of certain rights is allocated to the
DRMOS and the enforcement of others to the application is therefore contemplated
as within the scope of the invention.
As described above in conjunction with FIG. 2, the content provider 220 delivers
content to the subscriber computer 200 after trust is established by transmitting
the appropriate certificates/identities for the CPU, the DRMOS, and the
application to the provider. The content can be explicitly encrypted by the
content provider for this combination of CPU, DRMOS, and application, as
described above, or, if the content is sent over a secured link (with, for
example, Secure Socket Layer services), the content provider can encrypt
the content using the session key for the secure link. In the latter embodiment,
the DRMOS writes the encrypted content to permanent storage and uses one
of the storage keys generated by the CPU to securely store the session key
for later use. Alternately, the content provider can choose not to encrypt
the content if it is transmitted to the application in a secure fashion,
in which case the application performs the encryption if it stores a persistent
copy of the content.
The particular methods performed by a subscriber computer of an exemplary
embodiment of the invention have been described. The methods performed by
the subscriber computer have been shown by reference to flowcharts, operational
diagrams, and data structures. Methods performed by the content provider
have also been described.
Conclusion
A digital rights management system has been described whereby certain
cryptographic secrets are reliably associated with a particular digital rights
management operating system or family of operating systems running on a
particular general-purpose computer. The operating system uses these secrets
to authenticate itself to a third party, to receive encrypted content or
information, to store this content or information securely, and to retrieve
it later. No unrelated operating system or other software running on the
same computer can obtain these secrets and perform these actions, nor can
any operating system or other software running on any other computer. By
using these cryptographic secrets, the digital rights management operating
system can recursively provide derived cryptographic secrets for the same
uses by applications running on the same operating system on the same computer.
Although specific embodiments have been illustrated and described herein,
it will be appreciated by those of ordinary skill in the art that any arrangement
that is calculated to achieve the same purpose may be substituted for the
specific embodiments shown. This application is intended to cover any adaptations
or variations of the present invention.
For example, those of ordinary skill in the art will appreciate that various
combination of the exemplary embodiments are applicable to solve the digital
rights management problem depending on the exact computing environment.
Furthermore, those of ordinary skill in the art will recognize that the invention
can be practiced on a large scale although illustrated herein with only a
single subscriber and content provider.
The terminology used in this application with respect to is meant to include
all hardware and software configuration and all networked environments.
Therefore, it is manifestly intended that this invention be limited only
by the following claims and equivalents thereof.