|
This file is available on a Cryptome DVD offered by Cryptome. Donate $25 for a DVD of the Cryptome 10-year archives of 35,000 files from June 1996 to June 2006 (~3.5 GB). Click Paypal or mail check/MO made out to John Young, 251 West 89th Street, New York, NY 10024. Archives include all files of cryptome.org, cryptome2.org, jya.com, cartome.org, eyeball-series.org and iraq-kill-maim.org. Cryptome offers with the Cryptome DVD an INSCOM DVD of about 18,000 pages of counter-intelligence dossiers declassified by the US Army Information and Security Command, dating from 1945 to 1985. No additional contribution required -- $25 for both. The DVDs will be sent anywhere worldwide without extra cost. | |||
21 November 2006
Related:
A Bibliography of Quantum Cryptography
http://www.cs.mcgill.ca/~crepeau/CRYPTO/Biblio-QC.htmlQuantum Cryptography
See 1995 patent by this inventor:
Correlated photon pair optical communications system
| United States Patent | 6,028,935 |
| Rarity , et al. | February 22, 2000 |
A cryptographic receiver (10) includes photon detectors (52, 54, 56, 58) arranged to detect photons arriving from filters (22) and (24). A fiber coupler (14) randomly distributes each received photon (16) from an optical fiber toone of two photon channels (18, 20). The filters (22, 24) are each unbalanced Mach-Zehner interferometers with a phase modulator (34, 44) in one arm (28, 38). The filters (22, 24) impose non-orthogonal measurement bases on photons within the respective channels (18, 20). A signal processor (60) derives a cryptographic key-code by analysis of signals received from the photon detectors (52, 54, 46, 58).
| Inventors: | Rarity; John G (Malvern, GB), Tapster; Paul R (Malvern, GB) |
| Assignee: | The Secretary of State for Defence in Her
Britannic Majesty's Government (Farnborough, GB) |
| Appl. No.: | 08/624,499 |
| Filed: | April 10, 1996 |
| PCT Filed: | September 23, 1994 |
| PCT No.: | PCT/GB94/02067 |
| 371 Date: | April 10, 1996 |
| 102(e) Date: | April 10, 1996 |
| PCT Pub. No.: | WO95/10907 |
| PCT Pub. Date: | April 20, 1995 |
| Oct 08, 1993 [GB] | 9320793 | |||
| Current U.S. Class: | 380/256 ; 380/278; 380/283; 380/44; 398/1 |
| Current International Class: | H04L 9/08 (20060101) |
| Field of Search: | 380/21,49,44 |
| H1626 | January 1997 | Kersey et al. | |||
| 4303861 | December 1981 | Ekstrom | |||
| 4754131 | June 1988 | Bethea et al. | |||
| 5140636 | August 1992 | Albares | |||
| 5191614 | March 1993 | LeCong | |||
| 5243649 | September 1993 | Franson | |||
| 5307410 | April 1994 | Bennett | |||
| 5311592 | May 1994 | Udd | |||
| 5515438 | May 1996 | Bennett et al. | |||
| WO 95/07582 | Mar., 1995 | WO | |||
| WO 95/07583 | Mar., 1995 | WO | |||
| WO 95/07584 | Mar., 1995 | WO | |||
| WO 95/07585 | Mar., 1995 | WO | |||
Bennett, Charles H., "Quantum Cryptography Using Any Two Nonorthogonal States", Physical Review Letters, vol. 68, No. 21, May 25, 1992, pp. 3121-3124. . Townsend et al., "Enhanced Single Photon Fringe Visibility in a 10 km-Long Prototype Quantum Cryptography Channel", Electronics Letters, vol. 29, No. 14, Jul. 8, 1993, pp. 1291-1293.. |
Primary Examiner: Hayes; Gail O.
Assistant Examiner: Sayadian; Hrayr
Attorney, Agent or Firm:
![]() |
FIG. 2 schematically illustrates a cryptographic receiver of the invention
in the form of a passive polarization receiver;
![]() |
FIG. 3 schematically illustrates a communications system incorporating the
receiver of FIG. 1;
![]() |
FIG. 4 illustrates a source of photon pairs for the FIG. 3 system;
![]() |
FIG. 5 is a timing diagram for the FIG. 3 system;
![]() |
FIG. 6 schematically illustrates a communications system incorporating the
receiver of FIG. 2, and
![]() |
FIG. 7 illustrates a further communications system incorporating a receiver
of the invention in the form of an extended time-division Mach-Zehnder
interferometer.
![]() |
DETAILED DISCUSSION OF PREFERRED EMBODIMENTS
Referring to FIG. 1, there is shown schematically a cryptographic receiver
of the invention indicated generally by 10. The receiver 10 is arranged to
receive photons from a remote source (not shown) along fibre optic guide
12. A fibre coupler 14 couples incoming photons, indicated by arrow 16, randomly
to one or other of two channels 18 and 20. The fibre coupler 14 is a beamsplitter
arranged to distribute photons to channel 18 and channel 20 on a random basis.
The probabilities of the photons being coupled to either channel 18 or channel
20 are substantially equal. Both of the channels 18 and 20 are fibre optic
guides. The channels 18 and 20 lead to filters 22 and 24 respectively.
The filter 22 comprises a 50/50 fibre coupler 26, similar to the fibre coupler
14, which couples photons randomly to either a long fibre path 28 or a short
fibre path 30. These paths recombine at a further 50/50 fibre coupler 32.
A phase plate 34 is incorporated in the long fibre path 28. The phase plate
34 is set to retard the phase of photons passing along the path 28 by
(2n.pi..+-..pi./2) radians where n is an integer. The filter 24 is similar
to the filter 22 in that it has a 50/50 fibre coupler 36, a long fibre path
38, a short fibre path 40 and a second 50/50 fibre coupler 42. The long fibre
paths 28 and 38 are of equal length as are the short fibre paths 30 and 40.
A phase plate 44 is inserted into the long fibre path 38 of the filter 24
and is set to give a phase shift of 2 mm radians, where m is an integer,
to photons passing along the path 38. In the simplest case, n and m are both
equal to zero. The filter 22 then has a phase plate 34 which imposes a .pi./2
phase shift and the filter 24 has a phase plate which imposes a 0 phase shift.
The filters 22 and 24 are thus set to form two non-orthogonal measurement
bases. Non-orthogonal states are defined in terms of projection operators
in a paper by C. H. Bennett in Physical Review Letters, Volume 68, Number
21, May 1992, pages 3121 to 3124 where, at page 3122, Bennett states "Let
.vertline.u.sub.0 > and .vertline.u.sub.1 > be two distinct, nonorthogonal
states, and let P.sub.0 =1-.vertline.u.sub.1 ><u.sub.1 .vertline. and
P.sub.1 =1-.vertline.u.sub.0><u.sub.0 .vertline. be (non-commuting)
projection operators onto subspaces orthogonal to .vertline.u.sub.1 >
and .vertline.u.sub.0 >, respectively (note reversed order of indices).
Thus P.sub.0 annihilates .vertline.u.sub.1 >, but yields a positive result
with probability 1-.vertline.<u.sub.0 .vertline.u.sub.1
>.vertline..sup.2 >0 when applied to .vertline.u.sub.0 >, and vice
versa for P.sub.1."
The two fibre couplers 32 and 42 couple photons to pairs of output channels
45 and 46, and 48 and 50 respectively. Each of the output channels 45, 46,
48 and 50 are terminated by respective photon detectors 52, 54, 56 and 58.
Each photon detected by the detectors 52, 54, 56 and 58 generates an electrical
pulse. The detectors 52, 54, 56 and 58 are connected to a signal processor
60 by respective wires 62, 64, 66 and 68. The filters 22 and 24, the output
channels 45 to 50 and the photon detectors 52 to 58 constitute discriminating
means.
The filters 22 and 24 are unbalanced Mach-Zehnder interferometers. A single
incident photon entering the receiver 10 as indicated by arrow 16 passes
randomly to either filter 22 or filter 24. In consequence, photons input
at 12 to the device 10 become randomly distributed between the filters 22
and 24. The long fibre paths 28 and 38 have a path length which is an amount
l greater than that of the short fibre paths 30 and 40. Depending on the
wavelength of the photon entering either filter 22 or 24 and the path difference
l, the photon will be detected at one of the photon detectors 52, 54, 56
or 58. Which detector detects the photon is dependent on whether constructive
or destructive interference occurs at the fibre couplers 52 or 42. When the
wavelength of the incident photon is uncertain, with a coherence length less
than l, the photon will appear randomly in one of the detectors 52, 54, 56
and 58. Operation of the receiver 10 incorporated into a communications system
will be described later.
Referring now to FIG. 2 there is shown an alternative embodiment of the invention
in the form of a passive polarization receiver indicated generally by 110.
The receiver 110 is arranged to receive polarized photons from a distant
source (not shown) along fibre optic guide 112. A polarization maintaining
and polarization insensitive fibre coupler 114 couples incoming polarized
photons, indicated by arrow 116, randomly to one of channels 118 and 120.
Channels 118 and 120 are polarization maintaining fibre optic guides which
lead to respective polarization rotators 122 and 124. Rotator 122 is set
to rotated the polarization of photons passing through it by 45.degree. and
rotator 124 is set to rotate the polarization of photons passing through
it by 0.degree.. Channel 118 then leads to a polarizing beamsplitter 126.
Depending on the polarization of photons entering the beamsplitter 126, the
photons are either output towards photon detector 128 or photon detector
130. The channel 120 leads from the rotator 124 to a polarizing beamsplitter
132 like to beamsplitter 126. The beamsplitter 132 has two output directions
which lead to photon detectors 134 and 136. The rotators 122 and 124 impose
non-orthogonal measurement bases on photons within the channels 118 and 120
respectively.
The photon detectors 128, 130, 134 and 136 convert photons into electrical
pulses which are passed along respective wires 138, 140, 142 and 144 to signal
processor 146. Operation of the receiver 110 incorporated into a communications
system will be described later.
The channel 120 of the receiver 110 may be arranged so as to include a delay
loop. In such an embodiment, the two polarizing beamsplitters 126 and 132
are replaced by a single polarizing beam splitter which has two input channels
corresponding to the channels 118 and 120. The delay loop in channel 120
enables the signal processor to identify which channel a photon passed along
by measuring its arrival time at the polarizing beamsplitter. Instead of
a 0.degree. rotator such as rotator 124, the channel 120 may be replaced
by a length of polarization maintaining fibre optic waveguide, provided it
imposes a measurement basis on photons within the channel 120 which is
non-orthogonal to the measurement basis imposed by rotator 122 in channel
118. The use of two rotators simplifies the operation of the receiver 110
since they enable the performance of the receiver to be "trimmed" to maximize
performance. Such "trimming" is achieved by sightly altering the rotation
angles away from the 0.degree. and 45.degree. positions to account for any
misalignment of the polarizing beam splitters 126 and 132.
Referring now to FIG. 3 there is shown a communications system, indicated
generally by 200. The communications system comprises a first receiver 210
and a second receiver 220. The receivers 210 and 220 are like to the receiver
10. The system 20 further comprises a source of photon pairs 230. The source
230 emits pairs of photons, one of which is coupled to fibre optic guide
232, indicated by arrow 234, and one of which is coupled to fibre optic guide
236, indicated by arrow 238. Fibre optic guide 232 guides photons to the
second receiver 220. The two receivers 210 and 220 communicate with each
other via a conventional communications link 240 which may be a telephone
connection.
The receiver 210 comprises a beam splitter 241, a first Mach-Zehnder
interferometer 242 and a second Mach-Zehnder interferometer 244. Interferometer
242 has two output channels 245 and 246 which lead to photon detectors 250
and 252 respectively. Interferometer 244 has two output channels 254 and
256 which lead to photon detectors 258 and 260 respectively. Likewise, receiver
220 comprises a beam splitter 261, a first Mach-Zehnder interferometer 262
and a second Mach-Zehnder interferometer 264. Interferometer 262 has two
output channels 266 and 268 which lead to photon detectors 270 and 272
respectively. Interferometer 264 has two output channels 274 and 276 which
lead to photon detectors 278 and 280 respectively. The photon detectors 250,
252, 258, 260, 270, 272, 278 and 280 are actively quenched photon counting
avalanche photodiodes, as described by Brown et al. in Applied Optics 26
(1987) page 2383. In response to a photon being detected these photon detectors
emit an electrical pulse. Pulses originating from photon detectors 250, 252,
258 or 260 are detected by signal processor 282 and pulses originating from
photon detectors 270, 272, 278 or 280 are detected by signal processor 284.
Signal processors 282 and 284 exchange information via the conventional
communications link 240. First interferometers 242 and 262 each have phase
plates 286 and 288 respectively in their long arms which are set to give
a relative phase shift of 0.degree.. Second interferometer 244 has a phase
plate 290 in its long arm set to give a relative phase shift of +.pi./2 radians
and second interferometer 264 has a phase plate 292 in its long arm set to
give a relative phase shift of -.pi./2 radians.
Referring now to FIG. 4 there is shown in greater detail the source of photon
pairs 230. The source 230 comprises a monochromatic laser 300 and a non-linear
crystal 302. The laser 300 is a 100 mW krypton ion laser, operating at a
wavelength .lambda..sub..sigma. of 413.4 nm. The non-linear crystal 302 is
a crystal of lithium iodate. The laser 300 emits pulses of photons such as
photon 304 along a direction indicated by dashed arrow 306. In the crystal
302 the photons undergo non-degenerate down conversion, and correlated pairs
of photons are emitted. Apertures 308 and 310 are arranged so that pairs
of photons, such as photons 312a and 312b (these are labeled 234 and 238,
respectively, in FIG. 3) are allowed to pass through. The photons 312a and
312b travel along directions indicated by arrows 314a and 314b respectively.
Arrows 314a and 314b make angles .theta..sub.1 and .theta..sub.2 respectively
with arrow 306. The photons 312a and 312b are a correlated pair with wavelength
.lambda..sub.1 and .lambda..sub.2 respectively and are emitted from the crystal
302 substantially simultaneously with conjugate energies. The expression
"conjugate energies" means that the sum of the photon pair energies is equal
to the energy of the incident photon 304. The apertures 308 and 310 have
a finite width, and they transmit photons emitted from the crystal 302 within
a narrow range of acceptance angles. This range results in the transmitted
photons such as photons 312a and 312b having a wavelength bandwidth
.delta..lambda.. The apertures 308 and 310 are arranged so that .theta..sub.1
=.theta..sub.2 =14.5.degree.. Photons such as photon 312a have a wavelength
of .lambda..sub.1 .+-..delta..lambda., and photons such as photon 312b have
a wavelength of .lambda..sub.2 =.delta..lambda. with .lambda..sub.1
=.lambda..sub.2 =2.lambda..sub..sigma. =826.8 nm. Photons such as photon
312a are coupled to fibre optic guide 232 by lens 316 and photons such as
photon 312b are coupled to fibre optic guide 236 by lens 318.
Referring to FIG. 3 also, the operation of the communications system 200
will now be described. When photon 312a reaches the receiver 210 it may either
pass to the first interferometer 242 or the second interferometer 244. Likewise,
when the photon 312b reaches the receiver 220 it may either pass to the first
interferometer 262 or to the second interferometer 264. The electrical pulses
generated by the photon detectors 250, 258, 270 and 278 are allocated a binary
value of 0 and pulses generated by the photon detectors 252, 260, 272 and
280 are allocated a binary value of 1. Individual photons are of uncertain
wavelength and thus both photons 312a and 312b may pass to a photon detector
from which the pulses correspond to either a 0 or a 1. The wavelengths of
the photons 312a and 312b are correlated and so a correlation coefficient
E may be derived relating the probability of photon 312a generating a particular
binary value and the probability of photon 312b generating the same binary
value.
The correlation coefficient is given by the expression:
where .phi..sub.1 is the phase shift of the phase plate 286 or 290 of the
first receiver through which the photon 312a passes and .psi..sub.2 is the
phase shift of the phase plate 288 or 292 of the second receiver through
which the photon 312b passes. When (.phi..sub.1 +.phi..sub.2) is equal to
zero, E is equal to one, and photons 312a and 312b both pass to photon detectors
which generate pulses with the same binary value.
After the photons 312a and 312b have been detected and the resulting electrical
pulses have been measured by the signal processors 282 and 284, each signal
processor sends to the other identification details of the interferometer
through which the photon 312a or 312b passed. Both signal processors can
then determine whether the value of the correlation coefficient E is equal
to 1 or not. If E does equal 1, the measurements are valid and stored. For
occasions where (.phi..sub.1 +.phi..sub.2) is not equal to zero, and therefore
E is not equal to one, the measurements are discarded. The binary value of
the valid measurement is common to both the first receiver and the second
receiver. A series of these common binary values is built up from successive
measurements and used as a key code for encoding communication between the
two receivers over insecure public communications systems.
Referring now to FIG. 5 there is shown a timing diagram 350 of pulses measured
by the signal processors 282 and 284. Timing diagram 350 is comprised of
a series of graphs of pulse amplitude against time. Graphs 360a, 360b, 360c
and 360d correspond to the outputs of photon detectors 250, 252, 258 and
260 respectively and graphs 362a, 362b, 362c and 362d correspond to the outputs
of photon detectors 270, 272, 278 and 280 respectively. The binary value
corresponding to the pulses from each detector are given in a column 370.
The timing diagram 350 shows several instances when the receiver 210 detects
a photon but receiver 220 doe snot. Such an instance is shown by line 372.
Likewise, there are several instances when receiver 220 detects a photon
but receiver 210 does not, as shown by line 374. If one of the signal processors
282 and 284 measures a pulse but the other processor does not, the information
is discarded.
Timing diagram 350 shows six instances, indicated by dotted lines 376, 378,
380, 382, 384 and 386 when both signal processors measure a pulse at the
same instant. Of these six instances two occur when (.phi..sub.1 +.phi..sub.2)
is not equal to zero. These are shown by dotted lines 378 and 384. These
two measurements are discarded leaving four valid measurements. These four
measurements indicated by dotted lines 376, 380, 382 and 386 enable both
the signal processors 282 and 284 to obtain the four bit binary number 0100.
In order for the signal processors to determine whether the pulses they both
measure are due to a correlated photon pair they must also exchange information
about the time the pulses were detected.
In order to ascertain whether an eavesdropper has attempted to intercept
the transmission of photons, the two signal processors may exchange a
predetermined random series of bits. If the exchanged series are not identical,
an eavesdropper has been detected and secure communication is not possible.
If the exchanged series are identical there is reasonable security that no
eavesdropper is present, the remaining secret bits are used to form a shared
random key code known only to the two signal processors. Public transmissions
from one processor to the other are encoded and decoded with the key code.
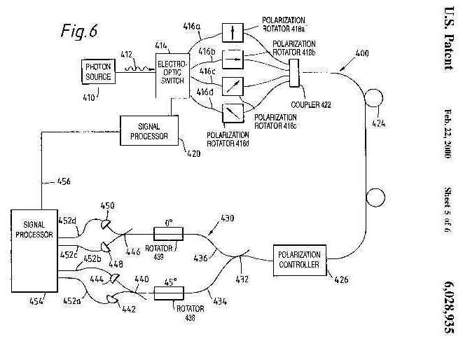
Referring now to FIG. 6 there is shown a communications system incorporating
the receiver of the invention, indicated generally by 400. Communications
system 400 is a polarized photon communications system. The system 400 has
a faint polarized photon source 410 which couples photons such as photon
412 to an electro-optic switch 414. The switch 414 routes the photon 412
to one of four channels 416a, 416b, 416c or 416d. Channels 416a to 416d each
contain a polarization rotator. Channel 416a contains rotator 418a which
rotates the photon polarization by 0.degree.; channel 416b contains rotator
418b which rotates the polarization by 90.degree.; channel 416c contains
rotators 418c which rotates the polarization by +45.degree. and channel 416d
contains rotator 418d which rotates the photon polarization by -45.degree.
relative to its initial polarization. These rotations are indicated
schematically. The rotators thus form two no-orthogonal sets of polarization
orientations; rotators 418a and 418b form a rectilinear set having rotations
of 0.degree. and 90.degree. and rotators 418c and 418d form a non-orthogonal
diagonal set having rotations of +45.degree. and -45.degree.. In response
to a control signal from a signal processor 420 and switch 414 routes the
photon 412 to one of the four rotators 418a to 418d.
The four channels 416a-d recombine at passive coupler 422. The switch 414
and the coupler 422 both maintain the polarization orientation of photons
as the photons pass through them.
The photon 412 passes from the switch 414 through one of the rotators 418a-d,
where its polarization is rotated to the coupler 422. From the coupler 422,
the photon 412 passes through fibre optic guide 424. The photon 412 then
passes through a fibre optic polarization controller 426. The polarization
controller 426 ensures that the emerging photon has a polarization reference
frame which is identical to that when it entered the fibre optic guide 424.
After the polarization controller the photon 412 passes to receiver 450.
The receiver 430 is like to receiver 110. The photon 412 passes to a polarization
maintaining fibre coupler 432 which couples the photon randomly either to
channel 434 or channel 436. Channel 434 contains a 45.degree. rotator 438
whilst channel 436 contains a 0.degree. rotator 439. A photon in channel
434 then passes to a polarizing beamsplitter 440. Photons which have a vertical
polarization after passing through the rotator 438 pass to detector 442 whilst
photons having a horizontal polarization pass to detector 444. A photon in
channel 436 then passes to a polarizing beamsplitter 446. Vertically polarized
photons pass to detector 448 whilst horizontally polarized photons pass to
detector 450. The rotators 438 and 439 impose non-orthogonal measurement
bases on photons within channels 434 and 430 respectively. In response to
a photon being detected by any one of detectors 442, 444, 448 or 450, an
electrical pulse is passed along respective wires 452a, 452b, 452c or 452d
to signal processor 454. Pulses from detectors 442 and 448 are assigned a
binary number 0 and pulses from detectors 444 and 450 are assigned a binary
number 1.
When the signal processor 454 measures an electrical pulse resulting from
photon 412 being detected, it communicates to the signal processor 420 an
identification of the channel the photon 412 passed through. The signal processor
420 communicates to the signal processor 454 using communications link 456
whether the photon 412 was routed by the switch 414 to one of the rotators
418a to 418d which resulted in either a rectilinear polarization or a diagonal
polarization. If the photon 412 had a rectilinear polarization after passing
through rotator 418a or 418b but was detected by receiver 430 in channel
434 the measurement is not valid. Likewise, if the photon passed through
a diagonal rotator 418c or 418d but was detected by the receiver 420 in channel
436 the measurement is invalid. Valid measurements are those when the photon
passes through a rectilinear rotator 418a or 418b and is detected in channel
436 or passes through a diagonal rotator 418c or 418d and is detected in
channel 434. Invalid measurements are discarded.
The signal processor 420 controls which channel the switch 414 directs photon
into. Of the two channels resulting in rectilinear polarization 416a and
416b, channel 416a corresponds to a binary 0 digit and channel 416b corresponds
to a binary 1 digit. Similarly for the diagonal rotator channels 416c and
416d, channel 416c corresponds to a binary 1 digit and channel 416d corresponds
to a binary 0 digit. The term "corresponds" means "equates in the signal
processor 420". For valid measurements, both the signal processor 420 and
the signal processor 454 have the same binary value, and these binary values
are assembled to form a binary key code common to both processors. This key
code is used to encode transmission over the communications link 456. A routine
similar to that for system 200 may be used to detect an eavesdropper.
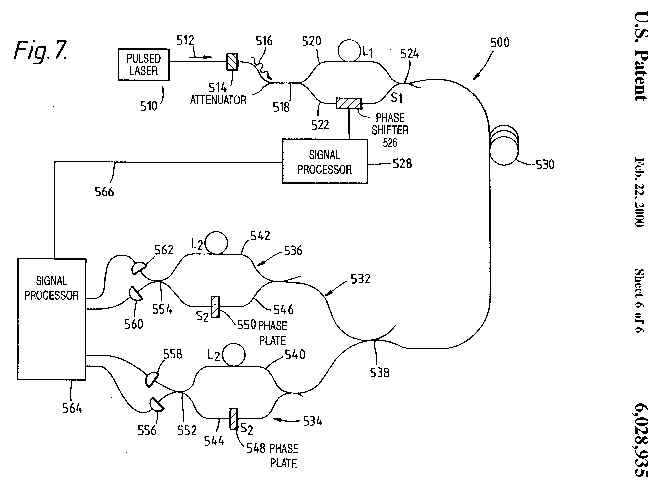
Referring now to FIG. 7 there is shown a communications system incorporating
the receiver of the invention, indicated generally by 500. The communications
system 500 comprises an extended time-division Mach-Zehnder interferometer.
A pulsed laser 510 produces a pulse of photons indicated by arrow 512. These
photons pass to an attenuator 514. The attenuator 514 is arranged so that
on average it transmits 0.1 photons per laser pulse, or for every 10 laser
pulses only 1 will result in a single photon being transmitted. A single
photon 516 passes to a first fibre coupler 518. The coupler 518 randomly
couples photons such as photon 516 to either a long fibre path 520 or a short
fibre path 522.
The two paths 520 and 522 recombine at fibre coupler 524. The short fibre
path 522 contains a phase shifter 526 consisting of a free space link whose
length is varied by means of a piezo-electric transducer (not shown) in response
to a signal from signal processor 528. The signal from the signal processor
528 sets the phase shifter to one of four settings. These four settings introduce
a relative phase shift of 0, .pi./2, 3.pi./2, and .pi. radians respectively.
The settings 0 and .pi. radians form a first measurement basis and the settings
.pi./2 and 3.pi./2 form a second non-orthogonal measurement basis. The phase
shifter 526 may alternatively be an electro-optic phase modulator.
The long path 520 has a path length L.sub.1 and the short path 522 has a
path length S.sub.1 with a path length difference (L.sub.1 -S.sub.1). The
pulse of photons from the laser 510 has a duration of 30 ps and the difference
in propagation time between photons passing along the short path 522 and
the long path 520 is 1.1 ns, which is much greater than 30 ps. The repetition
rate of the laser 510 is 105 MHz.
Photons such as photon 516 are coupled from the fibre coupler 524 to a
transmission fibre optic guide 530 which may be greater than 10 km in length.
The fibre optic guide 530 carries photons to a receiver 532 which is similar
to the receiver 10. Photons such as photon 516 are coupled randomly to one
of two filters 534 or 536 by fibre optic coupler 538. Filters 534 and 536
have long fibre paths 540 and 542 respectively of length L.sub.2 equal to
length L.sub.1 and short fibre paths 544 and 546 respectively of length S.sub.2
equal to length S.sub.1. Short fibre path 544 contains a phase plate 548
set to give a relative phase shift to photons passing through it of 0 radians
and short fibre path 546 contains a phase plate 550 set to give a relative
phase shift of .pi./2 radians. Fibre paths 544 and 540 recombine at fibre
coupler 552 and fibre paths 546 and 542 recombine at fibre coupler 554. Fibre
coupler 552 couples photons such as photon 516 either to photon detector
556 or photon detector 558. Fibre coupler 554 couples photons such as photon
516 to photon detector 560 or photon detector 562. Photon detectors 556,
558, 560 and 562 are high-speed germanium avalanche photodiodes cooled to
-196.degree. C. (77 K) and operate in the Geiger mode with passive quenching
via a 33 k.OMEGA. resistor.
Electrical signals from the photon detectors 556, 558, 560 and 562 produced
as a result of photon detection are measured by signal processor 564. The
signal processor assigns a binary 1 value to signals originating from detectors
556 and 560 and a binary 0 value to signals originating from detectors 558
and 562.
After the signal processor 564 has measured a signal coming from one of the
photon detectors it communicates with the signal processor 528 via communications
link 566, sending information about the time the photon was detected and
from which filter 534 or 536 it was detected. The signal processor 528 informs
the signal processor 564 whether it was a valid measurement. Valid measurements
occur (a) when a photon is detected from filter 534 when the phase shifter
526 was set to 0 or .pi. radians for the transmission of that photon, and
(b) when a photon is detected from filter 536 when the phase shifter 526
was set to .pi./2 or 3.pi./2 radians.
If the measurement is valid the signal processor 564 stores the binary value
corresponding to the signal received from the photon detector. The signal
processor 528 also stores an equivalent binary value. The signal processor
528 equates signals setting the phase shifter to 0 and .pi./2 to a binary
0 setting and .pi. and 3.pi./2 to a binary 1 setting. Both the signal processors
528 and 564 assemble an identical series of binary numbers and use this series
as a key code for encrypting transmissions between the two signal processors
over public communications link 566.