cartome.org

Field Manual 3-34.331 TOPOGRAPHIC SURVEYING 16 January 2001

TOC Chap1 2 3 4 5 6 7 8 9 10 11 AppA AppB AppC AppD Gl Bib

 

Chapter 9

Artillery Surveys

Topographic-engineer companies are the primary source of topographic support throughout the echelons above corps (EAC) and GS. Topographic companies support artillery surveys by

This chapter defines topographic-survey-operation terms for precise positioning and orientation at division, corps, EAC, and joint-level commands for support of FA and ADA. The accuracy, timeliness, and distribution of positioning and orientation information and organic equipment are also addressed.

US ARMY FA

>9-1. The FA is a primary user of precise-positioning and -orientation information in a wartime environment. Topographic-survey support must be provided to MLRS units, corps's GS units, and other nondivisional assets in the corps area. The FA requires that topographic surveyors 

  • Establish and recover monumented SCPs (horizontal and vertical) and azimuthal references for conventional and inertial FA survey teams.
  • Coordinate the exact position of the high-order control with the corps's survey officer.
  • Augment FA survey sections when appropriate.
ACCURACY

9-2. Established SCPs provide the FA a horizontal, vertical, and azimuthal reference. The horizontal and vertical coordinates and the azimuthal reference station must satisfy FGCS standards and specifications for third-order conventional and satellite positioning.

FREQUENCY AND TIMELINESS

9-3. The FA requires that initial SCPs be established within 5 kilometers of division artillery (DIVARTY) and TA battery (TAB) surveyor's HQ. In addition, a common grid must be established for the AO and should include an SCP and azimuthal reference every 30 kilometers. In a wartime scenario, SCPs and azimuthal references are to be established within 30 minutes of notification. Topographic surveyors are required to establish third-order SCPs for the beginning and ending points for each PADS traverse used by MLRS and FA units. The distance interval between these SCPs should be 25 to 30 kilometers throughout the division or the corps area. A precise GPS-S is the only expedient way to emplace third-order SCPs over this distance. The number of SCPs that a topographic survey must provide for the EAC and corps areas depend on the dispersion, the amount of movement, and the commander's priorities. For example, on the basis of five to seven moves per day, 10 to 20 SCPs will be required every 24 hours to support EAC and corps FA systems that the DIVARTY cannot support.

DISTRIBUTION

9-4. The coordinates that topographic surveyors establish for the FA should be disseminated to the SPCE. The SPCE is the FA's counterpart to a SIC. SPCEs will be located at HQ and HQ battery (HHB) DIVARTY, corps, brigade, and MLRS battalions. If the SPCE is not in operation, the survey information should be distributed to the operations section S3 or the Assistant Chief of Staff, G3 (Operations and Plans) (G3) of the highest element (battalionbrigadedivision or corps). NIMA is many years away from publishing all maps onWGS 84therefore commander must be aware datums within AO. Topographic surveyors are responsible for notifying SPCE appropriate operations section various In addition should provide with necessary parameters required to transform local coordinates predefined common grid (for example 84). Since paper map products will not a datum (WGS 84)it imperative that identify these FA transformation parameters. sheets mayBosniaHungry Saudi Arabia) forward observers (FOs) weapon separate datum. coordinate differences between hundreds meters positional cause friendly-fire casualties missed targets.

ADA

9-5. The ADA requires positioning and orientation information. The ADA and the FA have agreed that FA surveyors (MOS 82C) will provide the ADA with survey support, to include the following:

  • Accuracy. The ADA's positional and orientation accuracies are the same as the FA requirements.
  • Frequency and timeliness. Three SCPs per Patriot battalion for area defense and two SCPs per Patriot battalion for forward-area defense must be established. The number of SCPs and the timeliness is dependent on the battlefield and the mission.
  • Distribution. This control information should be distributed to the highest echelon SPCE and the Patriot-battalion S3.

SURVEY PLANNING

9-6. The maneuver commander initiates the requirement for survey planning (reference FM 6-2) by issuing guidance to the fire-support (FS) coordinator (FSCOORD). This guidance states the scheme of maneuver, the rate of movement, the anticipated enemy threat, and the critical phases of the battle.

ARTILLERY COMMANDER OR FSCOORD

9-7. The FSCOORD analyzes the commander's guidance to determine the need for passing of target information, for having first-round fire-for-effect accuracy, and for massing of fires. The FSCOORD weighs the analysis against the ability to adjust fires, complete registration missions, and engage targets from new position areas. This begins the concept for a survey plan to provide common survey control.

9-8. The FSCOORD must extract from the maneuver commander's guidance all information that allows visualization of the survey requirements for FS assets. The FSCOORD can gain most of the information by reviewing the scheme of maneuver, the rate of movement, the effects required on high-payoff targets, and the accuracy requirements for TA sensors. He must also determine whether it is more important to have survey support at the guns or at the TA assets first.

9-9. Each artillery commander is responsible for establishing common control throughout his AO. The FSCOORD must disseminate to the appropriate artillery battalion HQ the established accuracy requirements in survey terms. Additional requirements or guidance derived by the FSCOORD must also be communicated. This should be done through face-to-face coordination or through the S3. The survey officer must be included in this coordination and should advise the FSCOORD and/or the S3 on the current survey capabilities and limitations.

CORPS'S ARTILLERY SURVEY-PLANNING AND COORDINATING OFFICER

9-10. The corps's artillery survey-planning and coordinating officer ( SPCO) is responsible for the following:

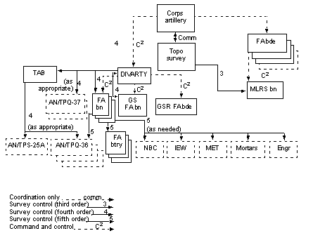
  • >Knowing the survey requirements and capabilities of all corps units (Figure 9-1).

Figure 9-1. Survey Requirements and Capabilities of Corps Units

  • Coordinating with the corps's Assistant Chief of Staff, G2 (Intelligence) (G2) to get intelligence estimates of the proposed work areas. These work areas should include 
  • Enemy activity.
  • Friendly forces.
  • Other optional constraints.
  • Coordinating with the corps's G3 to get the following information for planning and coordinating intelligence and electronic-warfare (IEW) systems that require survey support (Figure 9-2 shows a corps survey-plan overlay).

Figure 9-2. Corps Survey-Plan Overlay

  • Positions of the corps's artillery units (current and planned).
  • Unit-movement plans.
  • Dates and times of movement.
  • Priority of unit movement.
  • Making contact with the engineer topographic battalion's survey section and obtaining necessary details from the commander (for example, the attached platoon, the location of company SPCE, and the POCs). The engineer topographic battalions' survey section supports the FA and the ADA with third-order horizontal and vertical control points and azimuth marks for the division through the EAC and separate artillery brigades on a 24-hour basis. A topographic survey augments an FA survey with the information required for the following:
  • EAC (two SCPs per Patriot battalion).
  • Corps area (eight SCPs each 24-hour period and one SCP per DIVARTY or separate brigade each 24-hour period).
  • PADS (starting and closing SCPs are provided at a maximum interval of 25 kilometers).
  • MLRS (starting and closing SCPs are provided at a maximum interval of 30 kilometers).
  • Making necessary arrangements with the corps's HQ and HQ company (HHC) for administrative and logistical support of the topographic survey platoon.
  • Arranging and coordinating with the corps's aviation company for support if requested by the survey-section leader of the engineer topographic company.
  • Maintaining a close working relationship with the topographic-survey-platoon leader, the corps's artillery units' survey officers, and the DIVARTY survey officers. This coordination ensures a timely three-way flow of information concerning survey operations and data collection. It also enhances the timely completion of the survey mission.